LEMON Manuals: Even more car manuals for everyone: 1960-2025
Home >> Acura >> 2009 >> CSX Base, Standard >> Repair and Diagnosis >> External Pages >> Different car >> Section 84 (Keyless Access System) >> Remote Test >> With HDS
April 5, 2026: LEMON Manuals is launched! Read the announcement.

With HDS

WARNING: This page is about a different car, the 2010 Acura TL and 2009 Acura TL. However, it is still accessible from the selected car via links, so may be relevant.
  1. Press the lock or unlock button at least 10 times to reset the remote.
  2. Connect the HDS to the data link connector.
  3. Select KEYLESS TRANSMITTER from the BODY ELECTRICAL menu, then select INSPECTION, then KEYLESS CHECK.
  4. Press the lock, unlock, or panic button and check the response on the screen of the HDS.
    NOTE: The door lock actuators may or may not cycle when receiving input from the remote.
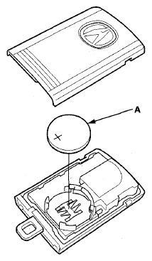
  5. Open the remote, and check for water damage.
  6. Replace the remote battery (A) with a new one (CR2032), and press the lock or unlock button and check the response on the screen of the HDS.
    • If KEYLESS ENTRY TRANSMITTER CODE IS RECEIVED is indicated, the remote is OK.
    • If KEYLESS ENTRY TRANSMITTER CODE IS NOT RECEIVED is indicated, go to step 7.
      Fig 1: Identifying Remote Battery
      G06680454Courtesy of AMERICAN HONDA MOTOR CO., INC.
  7. Use a different known-good remote assembly and repeat steps  3 and  4.
    NOTE: The remote does not need to be programmed to the vehicle for this test.
    • If (DIFFERENT) KEYLESS ENTRY TRANSMITTER CODE IS RECEIVED is indicated, replace the remote and do the keyless access system registration (see KEYLESS ACCESS SYSTEM REGISTRATION  ).
    • If KEYLESS ENTRY TRANSMITTER CODE IS NOT RECEIVED is indicated, the keyless access control unit is faulty, replace it and do the keyless access system registration (see KEYLESS ACCESS SYSTEM REGISTRATION  ).
      NOTE: The remote is combined with the immobilizer transponder, so when the transponder is registered by the HDS, the remote programming is completed automatically.