LEMON Manuals: Even more car manuals for everyone: 1960-2025
Home >> Acura >> 2009 >> CSX Base, Standard >> Repair and Diagnosis >> External Pages >> Different car >> Section 84 (Keyless Access System) >> Remote Test >> Without HDS
April 5, 2026: LEMON Manuals is launched! Read the announcement.

Without HDS

WARNING: This page is about a different car, the 2010 Acura TL and 2009 Acura TL. However, it is still accessible from the selected car via links, so may be relevant.
  1. Open the remote, and check for water damage.
    • If you find any water damage, replace the remote.
    • If there is no water damage, go to step 2.
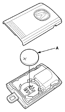
  2. Replace the remote battery (A) with a new one (CR2032), and try to lock and unlock the doors with the remote by pressing the lock or unlock button at least 10 times.
    • If the doors lock and unlock, the remote is OK.
    • If the doors don't lock and unlock, go to step 3.
      Fig 1: Identifying Remote Battery
      G06680455Courtesy of AMERICAN HONDA MOTOR CO., INC.
  3. Reprogram the remote with the HDS, then try to lock and unlock the doors.
    • If the doors lock and unlock, the remote is OK.
    • If the doors don't lock and unlock, try and program to another vehicle.