LEMON Manuals: Even more car manuals for everyone: 1960-2025
Home >> Acura >> 2009 >> CSX Type-S >> Repair and Diagnosis (Single Page) >> Body & Frame >> Windows >> Power Windows >> Passenger's Power Window Switch Test/Replacement
April 5, 2026: LEMON Manuals is launched! Read the announcement.

Passenger's Power Window Switch Test/Replacement

  1. Remove the passenger's switch (A).

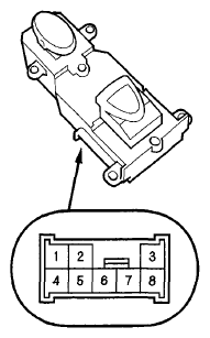
    Front passenger's 

    Fig 1: Identifying Passenger's Switch Connector
    G06268800Courtesy of AMERICAN HONDA MOTOR CO., INC.

    Rear 

    Fig 2: Identifying Rear Passenger's Switch Connector
    G06268801Courtesy of AMERICAN HONDA MOTOR CO., INC.
    NOTE: The illustration shows the front passenger's door.
    Fig 3: Identifying Front Passenger's Door Connector
    G06268802Courtesy of AMERICAN HONDA MOTOR CO., INC.
  2. Check for continuity between the terminals in each switch position according to the table.
    Fig 4: Front Passenger's Door Connector Continuity Chart
    G06278118Courtesy of AMERICAN HONDA MOTOR CO., INC.
  3. Connect battery power to the No. 4 terminal and ground the No. 7 (or No. 8) terminal. The switch light should come on.
  4. If the continuity or switch light tests is not as specified, remove the screws and replace the switch.
  5. Install the switch in the reverse order of removal.