LEMON Manuals: Even more car manuals for everyone: 1960-2025
Home >> Acura >> 2009 >> MDX V6-3.7L >> Repair and Diagnosis >> Powertrain Management >> Computers and Control Systems >> Information Bus >> Description and Operation >> System Decription
April 5, 2026: LEMON Manuals is launched! Read the announcement.

System Decription




Multiplex Integrated Control System Description

MICU Control Functions

The MICU (built into the under-dash fuse/relay box) is one of the B-CAN system components. The MICU controls many systems related to the body controller area network and security system, and also works as a gateway to diagnose the other B-CAN connected ECUs with the HDS.

The MICU also controls the function of these circuits:

Refer to each system circuit diagram for details.

- Entry lights control (individual map lights and ceiling light)

- Exterior lights control (including the daytime running lights control and back-up lights)

- Interlock system

- Keyless entry

- Power door locks

- Security alarm

- Turn signal/hazard warning lights

- Tailgate actuator

- Automatic lighting

- Impact sensing door lock release

- Door mirror switch

- IMOCD (S-NET)

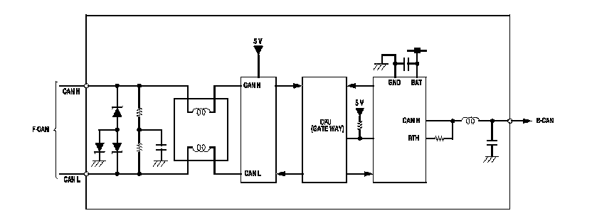
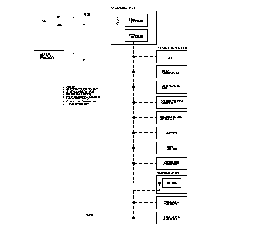
Body Controller Area Network (B-CAN) and Fast Controller Area Network (F-CAN)

The body controller area network (B-CAN) and the fast controller area network (F-CAN) share information between multiple electronic control units (ECUs). B-CAN communication moves at a slower speed (33.33 kbps) for convenience related items and for other functions. F-CAN information moves at a faster speed (500 kbps) for "real time" functions such as fuel and emissions data. To allow both systems to share information, the gauge control module translates information from B-CAN to F-CAN and from F-CAN to B-CAN.






- The single wire method is used between the units not requiring the communication to move at a fast speed.

- Using a single wire method reduces the number of the wires used on the body controller area network.

Gateway Function

The gauge control module acts as a gateway to allow both systems to share information, the gauge control module translates information from B-CAN to F-CAN and from F-CAN to B-CAN.






Network "Loss of Communication" Error Checking Function

The ECUs on the CAN circuit send messages to each other. If there are any communication malfunctions on the network, the odo/trip display on the gauge control module can indicate the error messages by entering the gauge self-diagnostic function. Reading and Clearing Diagnostic Trouble Codes There are three types of messages as follows:

Error Code List










Self-diagnostic Function

By connecting the HDS to the data link connector (DLC), the HDS can retrieve the diagnostic results from the MICU via a diagnostic BUS called the K-LINE. The K-LINE is different from the CAN line, but it is connected to the CAN related ECUs. The MICU is a gateway between the HDS and B-CAN related ECUs, and sends B-CAN diagnostic results to the HDS. When performing a function test with the HDS, the HDS sends an output signal through the K-LINE to the MICU. The MICU either relays the request to another ECU, or commands the function itself.






Wake-up and Sleep Function

The multiplex integrated control system has "wake-up" and "sleep" functions to decrease parasitic draw on the battery when the ignition switch is in LOCK (0) position.

- In the sleep mode, the MICU stops functioning (communication and CPU control) when it is not necessary for the system to operate.

- As soon as any operation is requested (for example, a door is unlocked), the related control unit in the sleep mode immediately wakes up and begins to function.

- When the ignition switch is turned to LOCK (0), and the driver's door is opened, then closed, there is a delay about 40 seconds before the control unit goes from the wake-up mode to the sleep mode.

- The sleep mode will not function if any door is opened or if the ignition switch is turned ON (II).

- The draw is reduced from 2.6 A to less than 35 mA when in the sleep mode.

NOTE: Sleep and Wake-up Mode Test. Multiplex Integrated Control System Sleep and Wake-Up Mode Test

Fail-safe Function

To prevent improper operation, the MICU has a fail-safe function. In the fail-safe mode, the output signal is fixed when any part of the system malfunctions (for example, a faulty control unit or communication line).

Each control unit has a hardware fail-safe function that fixes the output signal when there is a CPU malfunction, and a software fail-safe function that ignores the signal from a malfunctioning control unit , which allows the system to operate normally.

Hardware Fail-safe Control

Fail-safe function

When a CPU problem or a abnormal power supply voltage is detected, the MICU moves to the hardware fail-safe mode, and each system output load is set to the pre-programmed fail-safe value.

Software Fail-safe Control

When any of the data from the B-CAN circuit cannot be received within a specified time, or an unusual combination of the data is recognized, the MICU moves to the software fail-safe mode. The data that cannot be received is forced to a pre-programmed value.

Power Supply Voltage Monitoring Function

The MICU monitors the power supply voltage (back-up voltage). If the voltage goes below 10 V, the MICU sends an MICU will not store a DTC.





Entry Lights Control System (Ceiling Lights, Ignition Key Light)

The MICU control of the ceiling light and ignition key light ON/OFF is based on input signals from each switch.





Back-up Lights

The MICU control of the back-up lights is based on ignition switch (IG1) and the transmission range switch (R) signals.





Turn Signal/Hazard Warning Lights

The MICU control of the turn signal/hazard warning lights is based on input signals from the turn signal switch and the hazard warning switch.





Collision Detection Signal (CDS)

The MICU control of the door lock actuators is based on IG1 and the SRS signals.





Automatic Lighting System

The MICU control of the automatic lighting system is based on IG1, IG2, automatic lighting sensor signals, and B-CAN signals.





Headlight Washer Operation

The MICU control of the headlight washer system is based on headlight switch and washer switch signals.





Key Interlock

The MICU control of the key interlock solenoid is based on ignition switch (ACC), the transmission range switch, and the park-pin switch signals.





Power Door Locks (Unlock all doors and tailgate at the same time)

The MICU control of the door lock actuators is based on input signals of each switch.





Power Door Locks (Unlock only the driver's door first)

The MICU control of the door lock actuators is based on input signals of each switch.





Door Lock Response Operation

The MICU control of the door lock actuators is based on B-CAN signals.





Keyless Entry System (Unlock all doors and tailgate at the same time)

The MICU control of the door lock actuators is based on input signals of each switch and the B-CAN signals.





Keyless Entry System (Unlock only the driver's door first)

The MICU control of the door lock actuators is based on input signals of each switch and the B-CAN signals.





Answer Back Response Operation

The MICU control of the turn signal lights is based on B-CAN signals.





Auto Power Door Locks (LOCK operation)

The MICU control of the door lock actuators is based on input signals of each switch.





Auto Power Door Locks (UNLOCK operation)

The MICU control of the door lock actuators is based on input signals of each switch.





Tailgate Outer Handle Switch Operation (Unlock all doors and tailgate at the same time)

The MICU control of the tailgate release actuator is based on tailgate outer handle switch and the B-CAN signals.





Tailgate Outer Handle Switch Operation (Unlock only the driver's door first)

The MICU control of the tailgate release actuator is based on tailgate outer handle switch and the B-CAN signals.





Security Alarm System

The MICU control of the lighting system and horn is based on input signals of each switch and the B-CAN signals.





Prevention of Key Locked Inside Vehicle

The MICU control of the door lock actuators is based on input signals of each switch.





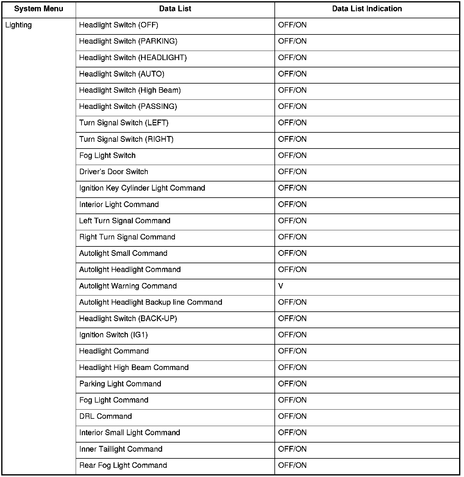
HDS Inputs and Commands

Certain inputs happen so quickly that the HDS can not update fast enough. Hold the switch that is being tested while monitoring the Data List. This should give the HDS time to update the signal on the Data List. Because the HDS software is updated to support the release for newer vehicles it is not uncommon to see system function tests that are not supported. Make sure that the most current software is loaded.

Input:





HDS Inputs and Commands

Input:









HDS Inputs and Commands

Input:









HDS Inputs and Commands

Input:





HDS Inputs and Commands

Input:









HDS Inputs and Commands

Input:





Output:













Output: