LEMON Manuals: Even more car manuals for everyone: 1960-2025
Home >> Acura >> 2009 >> MDX V6-3.7L >> Repair and Diagnosis >> Relays and Modules >> Relays and Modules - Lighting and Horns >> Headlamp Alignment Control Module >> Testing and Inspection
April 5, 2026: LEMON Manuals is launched! Read the announcement.

Headlamp Alignment Control Module: Testing and Inspection




Headlight Leveling Control Unit Input Test

1. Turn the ignition switch to LOCK (0) and remove the glove box. Service and Repair

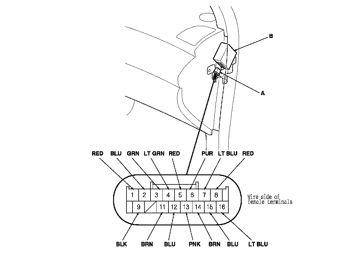
2. Disconnect the 16P connector (A) from the headlight leveling control unit (B).

3. Inspect the connector and socket terminals to be sure they are all making good contact.
- If the terminals are bent, loose or corroded, repair them as necessary, and recheck the system.

- If the terminals are OK, go to step 4.

4. With the connector still disconnected, do these input tests at the following connector.
- If any test indicates a problem, find and correct the cause, then recheck the system.

- If all the input tests prove OK, go to step 5.





5. Reconnect the connector, turn the ignition switch to ON (II), and do these input tests at the following connector.
- If any test indicate a problem, find and correct the cause, then recheck the system.

- If all the input tests prove OK, replace the headlight leveling control unit.

NOTE: After replacing the control unit, do the headlight initial position learning procedure. Programming and Relearning