LEMON Manuals: Even more car manuals for everyone: 1960-2025
Home >> Acura >> 2009 >> MDX V6-3.7L >> Repair and Diagnosis >> Specifications >> Mechanical Specifications >> Engine >> Cylinder Block Assembly >> Connecting Rod, Engine
April 5, 2026: LEMON Manuals is launched! Read the announcement.

Connecting Rod, Engine




Connecting rod bearing Specifications






Connecting rod

1st 20 N-m (2.0 kgf-m, 14 ft lb)
2nd 90 °


Connecting rod bolt usabillity

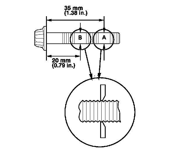
Point A - Point B = Difference in Diameter






Difference in Diameter





If the difference in diameter is out of tolerance, replace the connecting rod bolt.


Connecting rod bearing size codes

Connecting rod end code locations






Connecting rod journal code locations






Bearing table