LEMON Manuals: Even more car manuals for everyone: 1960-2025
Home >> Acura >> 2009 >> RDX L4-2.3L Turbo >> Repair and Diagnosis >> Heating and Air Conditioning >> Control Assembly >> Service and Repair >> Audio-HVAC Display Unit Removal/Installation (Without Navigation)
April 5, 2026: LEMON Manuals is launched! Read the announcement.

Audio-HVAC Display Unit Removal/Installation (Without Navigation)




Audio-HVAC Display Unit Removal/Installation

Without navigation

NOTE:

- Put on gloves to protect your hands.

- Take care not to scratch the dashboard.

1. Remove the center panel trim. Dashboard Center Panel Removal/Installation

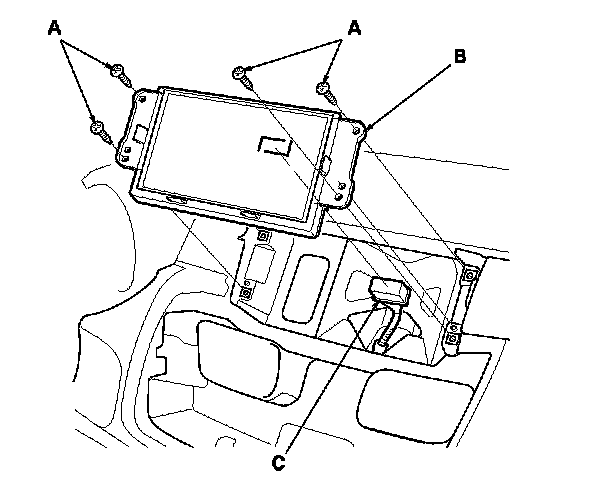
2. Remove the screws (A), then pull out the audio-HVAC display unit (B).

3. Disconnect the connector (C) and remove the audio-HVAC display unit.

4. Install the audio-HVAC display unit in the reverse order of removal.