LEMON Manuals: Even more car manuals for everyone: 1960-2025
Home >> Acura >> 2009 >> RDX L4-2.3L Turbo >> Repair and Diagnosis >> Powertrain Management >> Computers and Control Systems >> Fuel Tank Pressure Sensor >> Service and Repair
April 5, 2026: LEMON Manuals is launched! Read the announcement.

Fuel Tank Pressure Sensor: Service and Repair




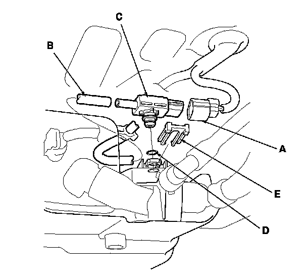
FTP Sensor Replacement

1. Disconnect the FTP sensor connector (A).

2. Disconnect the hose (B), then remove the FTP sensor (C).

3. Reinstall the parts in the reverse order of removal with a new O-ring (D) and a new retainer (E).