LEMON Manuals: Even more car manuals for everyone: 1960-2025
Home >> Acura >> 2009 >> RDX >> Repair and Diagnosis >> Engine Performance >> System >> Fuel Supply System >> Fuel Pressure Regulator Replacement
April 5, 2026: LEMON Manuals is launched! Read the announcement.

Fuel Pressure Regulator Replacement

  1. Relieve the fuel pressure (see FUEL PRESSURE RELIEVING ).
  2. Remove the charge air cooler (see CHARGE AIR COOLER REMOVAL AND INSTALLATION ).
  3. Remove the pressure regulator cover (A).
    Fig 1: Pressure Regulator Cover With Torque Specifications
    G05444752Courtesy of AMERICAN HONDA MOTOR CO., INC.
  4. Disconnect the fuel return hose (B), and vacuum hose (C).
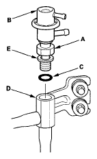
  5. Loosen the nut (A), then remove the fuel pressure regulator (B).
    Fig 2: Identifying Fuel Pressure Regulator Components
    G05444753Courtesy of AMERICAN HONDA MOTOR CO., INC.
  6. Coat the new O-ring (C) with clean engine oil, and install the fuel pressure regulator into the fuel pressure regulator base (D) by hand until the washer (E) is pressed between the base and the regulator.
    NOTE: Do not fully tighten the fuel pressure regulator yet.
  7. Make sure the fuel return pipe (A) is positioned as shown. If needed, turn the fuel pressure regulator counterclockwise to line up the pipe.
    NOTE:
    • Do not turn the fuel pressure regulator clockwise.
    • Do not turn the fuel pressure regulator counterclockwise more than once complete turn.
    Fig 3: Fuel Pressure Regulator With Torque Specifications
    G05444754Courtesy of AMERICAN HONDA MOTOR CO., INC.
  8. Tighten the nut (B) to the specified torque.
  9. Connect the fuel return hose and vacuum hose.
  10. Turn the ignition switch ON (II), but do not operate the starter. After fuel pump runs for about 2 seconds, the fuel rail is pressurized. Repeat this two or three times, then check for leaks.
  11. Install the pressure regulator cover, then install the charge air cooler (see INSTALLATION ).