LEMON Manuals: Even more car manuals for everyone: 1960-2025
Home >> Acura >> 2009 >> RL V6-3.7L >> Repair and Diagnosis >> Windows and Glass >> Windows >> Power Window Switch >> Testing and Inspection >> Power Windows Left Rear Power Window Switch Input Test
April 5, 2026: LEMON Manuals is launched! Read the announcement.

Power Windows Left Rear Power Window Switch Input Test




Power Windows Left Rear Power Window Switch Input Test

1. Turn the ignition switch to LOCK (0).

2. Remove the left rear power window switch. Passenger's Power Window Switch Test/Replacement

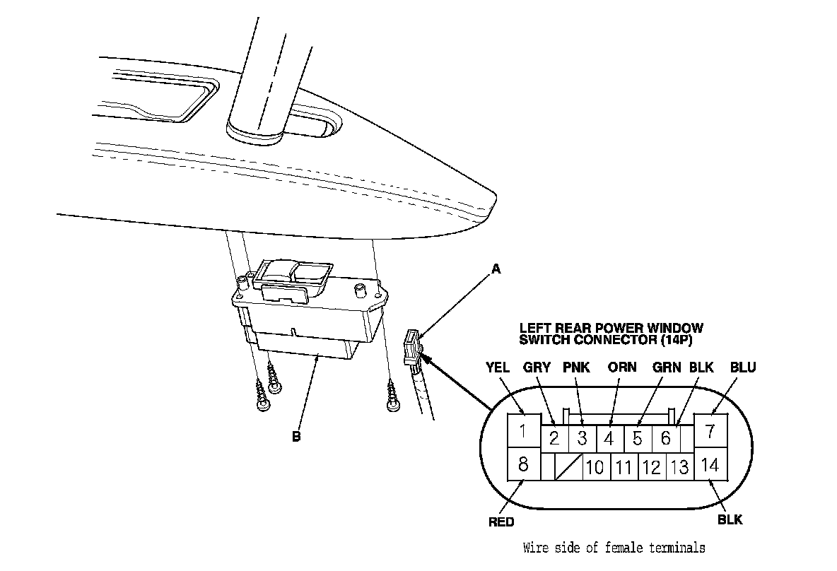
3. Disconnect the 14P connector (A) from the left rear power window switch (B).

4. Inspect the connector and socket terminals to be sure they are all making good contact.
- If the terminals are bent, loose or corroded, repair them as necessary and recheck the system.

- If the terminals look OK, go to step 5.

5. With the connector still disconnected, do these input tests at the connector.
- If any test indicates a problem, find and correct the cause, then recheck the system.

- If all the input tests prove OK, go to step 6.





6. Reconnect the connector to the left rear power window switch, and do these input tests at the connector.
- If any test indicates a problem, find and correct the cause, then recheck the system.

- If all the input tests prove OK, the left rear power window switch must be faulty; replace it Power Window Master Switch Replacement and go to step 7.










7. Reset the power window control unit. Testing and Inspection