LEMON Manuals: Even more car manuals for everyone: 1960-2025
Home >> Acura >> 2009 >> RL >> Repair and Diagnosis (Single Page) >> Electrical >> Body Electrical >> Fuse/Relay Boxes >> Connector to Fuse/Relay Box Index >> Passenger's Under-dash Fuse/Relay Box
April 5, 2026: LEMON Manuals is launched! Read the announcement.

Passenger's Under-dash Fuse/Relay Box

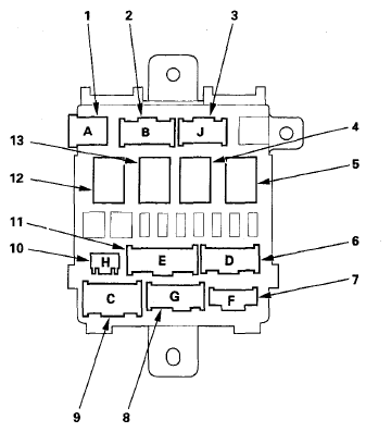
PASSENGER'S UNDER-DASH FUSE/RELAY BOX REFERENCE CHART

Socket Ref Terminal Connects to
A 1 1 Engine compartment wire harness (see ENGINE COMPARTMENT WIRE HARNESS (RIGHT BRANCH) )
B 2 10 Engine compartment wire harness (see ENGINE COMPARTMENT WIRE HARNESS (RIGHT BRANCH) )
C 9 5 Right side wire harness (see RIGHT SIDE WIRE HARNESS (FRONT BRANCH) )
D 6 17 Dashboard wire harness (see DASHBOARD WIRE HARNESS (RIGHT BRANCH) )
E 11 14 Dashboard wire harness (see DASHBOARD WIRE HARNESS (RIGHT BRANCH) )
Fuel fill door open relay 5 4  
F 7 8 Right side wire harness (see RIGHT SIDE WIRE HARNESS (FRONT BRANCH) )
G 8 14 Right side wire harness (see RIGHT SIDE WIRE HARNESS (FRONT BRANCH) )
H 10 3 Dashboard wire harness (see DASHBOARD WIRE HARNESS (RIGHT BRANCH) )
J 3 13 Engine compartment wire harness (see ENGINE COMPARTMENT WIRE HARNESS (RIGHT BRANCH) )
Headlight washer relay (1) 12 4  
Seat heater relay 4 4  
Throttle actuator control module relay 13 4  
(1) Canada models
Fig 1: Identifying Passenger's Under-Dash Fuse/Relay Box Connectors
G06162655Courtesy of AMERICAN HONDA MOTOR CO., INC.