LEMON Manuals: Even more car manuals for everyone: 1960-2025
Home >> Acura >> 2009 >> RL >> Repair and Diagnosis (Single Page) >> Engine Performance >> System >> Radiator Fan Control (RFC) System >> DTC Troubleshooting >> DTC P0480: RFC System Malfunction
April 5, 2026: LEMON Manuals is launched! Read the announcement.

DTC P0480: RFC System Malfunction

NOTE: Before you troubleshoot, record all freeze data and any on-board snapshot, and review the general troubleshooting information (see GENERAL TROUBLESHOOTING INFORMATION ).
  1. Turn the ignition switch to ON (II).
  2. Clear the DTC with the HDS, and wait 3 minutes or more.
  3. Check for Temporary DTCs or DTCs with the HDS.

    Is DTC P0480 indicated? 

    YES  -Go to step  6.

    NO  -Go to step 4.

  4. Select RADIATOR FAN in the INSPECTION MENU with the HDS.
  5. Check for Temporary DTCs or DTCs with the HDS.

    Is DTC P0480 indicated? 

    YES  -Go to step 6.

    NO  -Intermittent failure, the system is OK at this time. Check for poor connections or loose terminals at the RFC unit, the RFC unit relay, the radiator fan motor, the condenser fan motor, and the PCM.

  6. Check for these conditions at the radiator fan and the condenser fan:
    • Interference with fan shroud
    • Debris in the fan
    • Ice on the fan blades

    Are both fans OK? 

    YES  -Go to step 7.

    NO  -Repair or replace the damaged parts, then go to step  52.

  7. Select RADIATOR FAN in the INSPECTION MENU with the HDS.
  8. Check the radiator fan and the condenser fan operation.

    Do both fans operate? 

    YES  -Go to step 9.

    NO  -Replace the motor that is not operating, then go to step  52.

  9. Turn the ignition switch to LOCK (0).
  10. Let the engine cool until the coolant temperature is low.
  11. Turn the ignition switch to ON (II), and wait 3 minutes or more.
  12. Confirm that the A/C is not switched on.
  13. Check the radiator fan and the condenser fan operation.

    Do both fans keep running? 

    YES  -Go to step  25.

    NO  -Go to step 14.

  14. Turn the ignition switch to LOCK (0).
  15. Check the No. 23 IGP (7.5 A) fuse in the driver's under-dash fuse/relay box.

    Is the fuse OK? 

    YES  -Go to step 16.

    NO  -Repair short in the wire between the RFC unit relay and the No. 23 IGP (7.5 A) fuse. Also replace the No. 23 IGP (7.5 A) fuse, then go to step  52.

  16. Check the No. 34 +B RAD FAN (50 A) fuse in the battery terminal fuse box.

    Is the fuse OK? 

    YES  -Go to step 17.

    NO  -Go to step  31.

  17. Disconnect the RFC unit IP connector.
  18. Turn the ignition switch to ON (II), and wait 3 minutes or more.
  19. Measure the voltage between the RFC unit 1P connector terminal and body ground.
    Fig 1: Measuring Voltage Between RFC Unit 1P Connector Terminal And Body Ground
    G06164047Courtesy of AMERICAN HONDA MOTOR CO., INC.

    Is there battery voltage? 

    YES  -Go to step 20.

    NO  -Go to step  39.

  20. Turn the ignition switch to LOCK (0).
  21. Check for continuity between PCM connector terminal E6 and body ground.
    Fig 2: Checking For Continuity Between PCM Connector Terminal E6 And Body Ground
    G06164048Courtesy of AMERICAN HONDA MOTOR CO., INC.

    Is there continuity? 

    YES  -Go to step 22.

    NO  -Substitute a known-good RFC unit (see A/C CONDENSER FAN CIRCUIT TROUBLESHOOTING (SHORT) ), then go to step  52 and recheck. If DTC P0480 is not indicated, replace the original RFC unit (see A/C CONDENSER FAN CIRCUIT TROUBLESHOOTING (SHORT) ), then go to step  52.

  22. Jump the SCS line with the HDS.
  23. Disconnect PCM connector E (31P).
  24. Check for continuity between PCM connector terminal E6 and body ground.
    Fig 3: Checking For Continuity Between PCM Connector Terminal E6 And Body Ground
    G06164049Courtesy of AMERICAN HONDA MOTOR CO., INC.

    Is there continuity? 

    YES  -Repair short in the wire between the PCM (E6) and the RFC unit, then go to step  52.

    NO  -Go to step  58.

  25. Measure the voltage between PCM connector terminal E6 and body ground.
    Fig 4: Measuring Voltage Between PCM Connector Terminal E6 And Body Ground
    G06164050Courtesy of AMERICAN HONDA MOTOR CO., INC.

    Is there about 5 V? 

    YES  -Go to step  58.

    NO  -Go to step 26.

  26. Jump the SCS line with the HDS.
  27. Disconnect PCM connector E (31P).
  28. Disconnect the RFC unit 3P connector.
  29. Connect RFC unit 3P connector terminal No. 1 and body ground with a jumper wire.
    Fig 5: Connecting RFC Unit 3P Connector Terminal No. 1 And Body Ground With Jumper Wire
    G06164051Courtesy of AMERICAN HONDA MOTOR CO., INC.
  30. Check for continuity between PCM connector terminal E6 and body ground.
    Fig 6: Checking For Continuity Between PCM Connector Terminal E6 And Body Ground
    G06164052Courtesy of AMERICAN HONDA MOTOR CO., INC.

    Is there continuity? 

    YES  -Substitute a known-good RFC unit (see A/C CONDENSER FAN CIRCUIT TROUBLESHOOTING (SHORT) ), then go to step  52 and recheck. If DTC P0480 is not indicated, replace the original RFC unit (see A/C CONDENSER FAN CIRCUIT TROUBLESHOOTING (SHORT) ), then go to step  52.

    NO  -Repair open in the wire between the PCM (E6) and the RFC unit, then go to step  52.

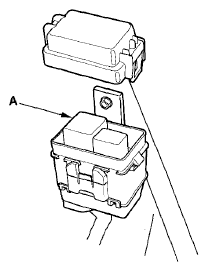
  31. Remove the air cleaner (see THROTTLE BODY CLEANING ), and remove the RFC unit relay (A).
    Fig 7: Locating RFC Unit Relay
    G06164053Courtesy of AMERICAN HONDA MOTOR CO., INC.
  32. Check for continuity between RFC unit relay 4P connector terminal No. 1 and body ground.
    Fig 8: Checking For Continuity Between RFC Unit Relay 4P Connector Terminal No. 1 And Body Ground
    G06164054Courtesy of AMERICAN HONDA MOTOR CO., INC.

    Is there continuity? 

    YES  -Repair short in the wire between the RFC unit relay and the No. 34 +B RAD FAN (50 A) fuse. Also replace the No. 34 +B RAD FAN (50 A) fuse, then go to step  52.

    NO  -Go to step 33.

  33. Disconnect the RFC unit 1P connector.
  34. Check for continuity between the RFC unit IP connector terminal and body ground.
    Fig 9: Checking For Continuity Between RFC Unit IP Connector Terminal And Body Ground
    G06164055Courtesy of AMERICAN HONDA MOTOR CO., INC.

    Is there continuity? 

    YES  -Repair short in the wire between the RFC unit relay (+B line) and the RFC unit. Also replace the No. 34 +B RAD FAN (50 A) fuse, then go to step  52.

    NO  -Go to step 35.

  35. Disconnect the RFC unit 2P connector (connected to radiator fan motor).
  36. Check for continuity RFC unit 2P connector terminal No. 1 and body ground.
    Fig 10: Checking For Continuity RFC Unit 2P Connector Terminal No. 1 And Body Ground
    G06164056Courtesy of AMERICAN HONDA MOTOR CO., INC.

    Is there continuity? 

    YES  -Repair short in the wire between the RFC unit and the radiator fan motor. Also replace the No. 34 +B RAD FAN (50 A) fuse, then go to step  52.

    NO  -Go to step 37.

  37. Disconnect the RFC unit 2P connector (connected to the A/C condenser fan motor).
  38. Check for continuity between RFC unit 2P connector terminal No. 1 and body ground.
    Fig 11: Checking For Continuity Between RFC Unit 2P Connector Terminal No. 1 And Body Ground
    G06164057Courtesy of AMERICAN HONDA MOTOR CO., INC.

    Is there continuity? 

    YES  -Repair short in the wire between the RFC unit and the condenser fan motor. Also replace the No. 34 +B RAD FAN (50 A) fuse, then go to step  52.

    NO  -Substitute a known-good RFC unit (see A/C CONDENSER FAN CIRCUIT TROUBLESHOOTING (SHORT) ), then go to step  52 and recheck. If DTC P0480 is not indicated, replace the original RFC unit (see A/C CONDENSER FAN CIRCUIT TROUBLESHOOTING (SHORT) ), then go to step  52.

  39. Turn the ignition switch to LOCK (0).
  40. Remove the air cleaner (see THROTTLE BODY CLEANING ), and remove the RFC unit relay (A).
    Fig 12: Locating RFC Unit Relay
    G06164058Courtesy of AMERICAN HONDA MOTOR CO., INC.
  41. Check the RFC unit relay (see POWER RELAY TEST ).

    Is the RFC relay OK? 

    YES  -Go to step 42.

    NO  -Replace the RFC unit relay, then go to step  52.

  42. Turn the ignition switch to ON (II).
  43. Measure the voltage between RFC unit relay 4P connector terminal No. 1 and body ground.
    Fig 13: Measuring Voltage Between RFC Unit Relay 4P Connector Terminal No. 1 And Body Ground
    G06164059Courtesy of AMERICAN HONDA MOTOR CO., INC.

    Is there battery voltage? 

    YES  -Go to step 44.

    NO  -Repair open in the wire between the RFC unit relay and the No. 34 +B RAD FAN (50 A) fuse, then go to step  52.

  44. Measure the voltage between RFC unit relay 4P connector terminal No. 4 and body ground.
    Fig 14: Measuring Voltage Between RFC Unit Relay 4P Connector Terminal No. 4 And Body Ground
    G06164060Courtesy of AMERICAN HONDA MOTOR CO., INC.

    Is there battery voltage? 

    YES  -Go to step 45.

    NO  -Repair open in the wire between the RFC unit relay and the No. 23 IGP (7.5 A) fuse, then go to step  52.

  45. Connect RFC unit relay 4P connector terminal No. 2 and body ground with a jumper wire.
    Fig 15: Connecting RFC Unit Relay 4P Connector Terminal No. 2 And Body Ground With Jumper Wire
    G06164061Courtesy of AMERICAN HONDA MOTOR CO., INC.
  46. Check for continuity between the RFC unit 1P connector terminal and body ground.
    Fig 16: Checking For Continuity Between RFC Unit 1P Connector Terminal And Body Ground
    G06164062Courtesy of AMERICAN HONDA MOTOR CO., INC.

    Is there continuity? 

    YES  -Go to step 47.

    NO  -Repair open in the wire between the RFC unit relay (+B line) and the RFC unit, then go to step  52.

  47. Remove the jumper wire from the RFC unit relay 4P connector.
  48. Jump the SCS line with the HDS.
  49. Disconnect PCM connector A (31P).
  50. Connect RFC unit relay 4P connector terminal No. 3 and body ground with a jumper wire.
    Fig 17: Connecting RFC Unit Relay 4P Connector Terminal No. 3 And Body Ground With Jumper Wire
    G06164063Courtesy of AMERICAN HONDA MOTOR CO., INC.
  51. Check for continuity between PCM connector terminal A13 and body ground.
    Fig 18: Checking For Continuity Between PCM Connector Terminal A13 And Body Ground
    G06164064Courtesy of AMERICAN HONDA MOTOR CO., INC.

    Is there continuity? 

    YES  -Go to step  58.

    NO  -Repair open in the wire between the PCM (A13) and the RFC unit relay, then go to step 52.

  52. Turn the ignition switch to LOCK (0).
  53. Reconnect all connectors.
  54. Turn the ignition switch to ON (II).
  55. Reset the PCM with the HDS.
  56. Do the PCM idle learn procedure (see PCM IDLE LEARN PROCEDURE ).
  57. Check for Temporary DTCs or DTCs with the HDS.

    Is DTC P0480 indicated? 

    YES  -Check for poor connections or loose terminals at the RFC unit, the RFC unit relay, the radiator fan motor, the condenser fan motor, and the PCM.

    NO  -Troubleshooting is complete. If any other Temporary DTCs or DTCs are indicated, go to the indicated DTCs troubleshooting.

  58. Reconnect all connectors.
  59. Update the PCM if it does not have the latest software (see PCM UPDATE ), or substitute a known-good PCM (see SUBSTITUTING THE PCM ).
  60. Check for Temporary DTCs or DTCs with the HDS.

    Is DTC P0480 indicated? 

    YES  -Check for poor connections or loose terminals at the RFC unit, the RFC unit relay, the radiator fan motor, the condenser fan motor, and the PCM. If the PCM was updated, substitute a known-good PCM (see SUBSTITUTING THE PCM ), then recheck. If the PCM was substituted, go to step  1.

    NO  -If the PCM was updated, troubleshooting is complete. If the PCM was substituted, replace the original PCM (see PCM REPLACEMENT ). If any other Temporary DTCs or DTCs are indicated, go to the indicated DTCs troubleshooting.