LEMON Manuals: Even more car manuals for everyone: 1960-2025
Home >> Acura >> 2009 >> RL >> Repair and Diagnosis >> Body & Frame >> Door Locks >> Keyless Access System >> RF Unit 1 Replacement
April 5, 2026: LEMON Manuals is launched! Read the announcement.

RF Unit 1 Replacement

  1. Remove the navigation display unit (see NAVIGATION DISPLAY UNIT REMOVAL/INSTALLATION ).
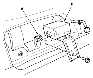
  2. Disconnect the 6P connector (A) from RF unit 1 (B).
    Fig 1: Identifying 6P Connector And RF Unit 1
    G06161068Courtesy of AMERICAN HONDA MOTOR CO., INC.
  3. Remove the bolt and RF unit 1.
  4. Install the unit in the reverse order of removal.