LEMON Manuals: Even more car manuals for everyone: 1960-2025
Home >> Acura >> 2009 >> RL >> Repair and Diagnosis >> Engine Mechanical >> Lubrication System >> Engine Lubrication System >> Engine Oil Replacement
April 5, 2026: LEMON Manuals is launched! Read the announcement.

Engine Oil Replacement

  1. Warm up the engine.
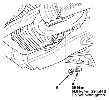
  2. Remove the drain bolt (A), and drain the engine oil.
    Fig 1: Drain Bolt With Torque Specifications
    G06163594Courtesy of AMERICAN HONDA MOTOR CO., INC.
  3. Reinstall the drain bolt with a new washer (B).
  4. Refill with the recommended oil (see LUBRICANTS AND FLUIDS ).

    Capacity 

    At Oil Change: 

    4.0 L (4.2 US qt) 

    At Oil Change Including Filter: 

    4.3 L (4.5 US qt) 

    After Engine Overhaul: 

    5.0 L (5.3 US qt) 

    Fig 2: Refilling Recommended Oil
    G06163595Courtesy of AMERICAN HONDA MOTOR CO., INC.
  5. Connect the Honda Diagnostic System (HDS) to the data link connector (DLC) (see step 2 under GENERAL TROUBLESHOOTING INFORMATION ).
  6. Turn the ignition switch to ON (II).
  7. Select the BODY ELECTRICAL with the HDS.
  8. Select the ADJUSTMENT in GAUGE MENU with the HDS.
  9. Select the RESET in the MAINTENANCE MINDER with the HDS.
  10. Select the RESETTING THE ENGINE OIL LIFE with the HDS.
  11. Run the engine for more than 3 minutes, then check the oil level and check for oil leakage.