LEMON Manuals: Even more car manuals for everyone: 1960-2025
Home >> Acura >> 2009 >> RL >> Repair and Diagnosis >> Steering >> Manual Steering >> Power Steering System >> Power Steering >> Steering Lock Replacement
April 5, 2026: LEMON Manuals is launched! Read the announcement.

Steering Lock Replacement

  1. Remove the steering column (see STEERING COLUMN REMOVAL AND INSTALLATION ).
  2. Center-punch each of the two shear bolts, and drill their heads off with a 5 mm (3/16 in.) drill bit. Be careful not to damage the switch body and steering column when removing the shear bolts.
    Fig 1: Drilling Steering Column
    G06161315Courtesy of AMERICAN HONDA MOTOR CO., INC.
  3. Remove the shear bolts from the switch body.
  4. Install the switch body without the key inserted.
  5. Loosely tighten new shear bolts.
  6. Insert the ignition key, and check for proper operation of the steering wheel lock and that the ignition key turns freely.
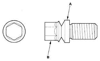
  7. Tighten the shear bolts (A) until the hex heads (B) twist off.
    Fig 2: Identifying Shear Bolts And Hex Heads
    G06161316Courtesy of AMERICAN HONDA MOTOR CO., INC.
  8. Rewrite the new immobilizer control unit-receiver with the HDS, and make sure the immobilizer system works properly (see REMOTE REGISTRATION AND REPROGRAMMING FOR KEYLESS ACCESS SYSTEM AND IMMOBILIZER SYSTEM ).