LEMON Manuals: Even more car manuals for everyone: 1960-2025
Home >> Acura >> 2009 >> TL AWD V6-3.7L >> Repair and Diagnosis >> Specifications >> Mechanical Specifications >> Engine >> Intake Manifold
April 5, 2026: LEMON Manuals is launched! Read the announcement.

Intake Manifold

Intake Components

Exploded View





Injector Base

Torque 22 Nm (2.2 kgf-m, 16 ft lbs)





Tighten mounting bolts/nuts (D) in a crisscross pattern in three steps, beginning with the inner nuts.

Intake manifold

Torque 22 Nm (2.2 kgf-m, 16 ft lbs)





Tighten the mounting bolts and nuts sequentially in three steps

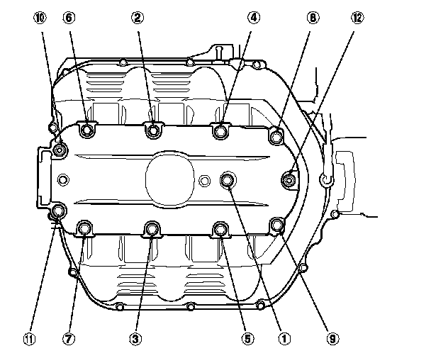
Upper Cover

Torque 12 Nm (1.2 kgf-m, 8.7 ft lbs)





Tighten the mounting bolts and nuts sequentially in three steps

Throttle Body

Torque 22 Nm (2.2 kgf-m, 16 ft lbs)