LEMON Manuals: Even more car manuals for everyone: 1960-2025
Home >> Acura >> 2009 >> TL AWD V6-3.7L >> Repair and Diagnosis >> Windows and Glass >> Windows >> Power Window Switch >> Service and Repair >> Rear Power Window Switch Replacement
April 5, 2026: LEMON Manuals is launched! Read the announcement.

Rear Power Window Switch Replacement




Rear Power Window Switch Replacement

1. Remove the rear door armrest. Rear Door Panel Removal/Installation

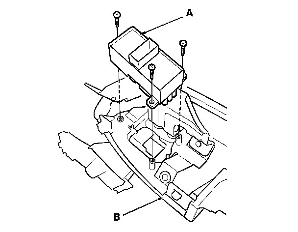
2. Remove the three screws and rear power window switch (A) from the armrest assembly (B).

3. Install the switch in the reverse order of removal.