LEMON Manuals: Even more car manuals for everyone: 1960-2025
Home >> Acura >> 2009 >> TL Base >> Repair and Diagnosis (Single Page) >> Accessories & Equipment >> Communication Devices >> Multiplex Integrated Control System >> System Description >> Gateway Function
April 5, 2026: LEMON Manuals is launched! Read the announcement.

Gateway Function

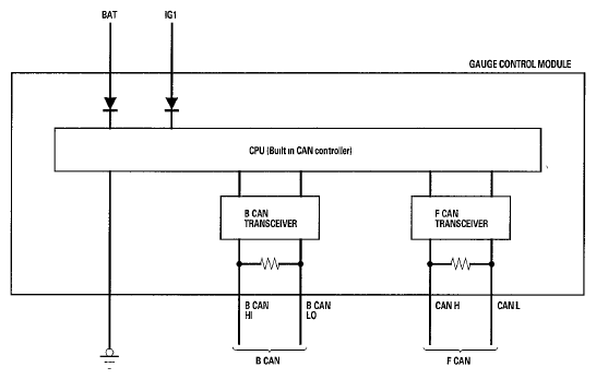
The gauge control module acts as a gateway to allow both systems to share information The gauge control module translates and relays the information from B-CAN to F-CAN and from F-CAN to B-CAN

Fig 1: Gauge Control Module - Circuit Diagram
G05988847Courtesy of AMERICAN HONDA MOTOR CO., INC.