LEMON Manuals: Even more car manuals for everyone: 1960-2025
Home >> Acura >> 2009 >> TL Base >> Repair and Diagnosis >> Electrical >> Charging Systems >> Charging System >> Alternator Overhaul >> Overhaul
April 5, 2026: LEMON Manuals is launched! Read the announcement.

Alternator Overhaul: Overhaul

NOTE: Refer to the EXPLODED VIEW  as needed during this procedure
  1. If the front bearing needs replacing, remove the pulley locknut with a 10 mm wrench (A) and a 22 mm wrench (B) If necessary, use an impact wrench
    Fig 1: Removing Pulley Locknut
    G05986567Courtesy of AMERICAN HONDA MOTOR CO., INC.
  2. Remove the three flange nuts
    Fig 2: Identifying Flange Nuts
    G05986568Courtesy of AMERICAN HONDA MOTOR CO., INC.
  3. Remove the end cover (A) and the terminal insulator (B)
    Fig 3: Identifying End Cover And Terminal Insulator
    G05986569Courtesy of AMERICAN HONDA MOTOR CO., INC.
  4. Remove the brush holder assembly (A)
    Fig 4: Identifying Brush Holder Assembly
    G05986570Courtesy of AMERICAN HONDA MOTOR CO., INC.
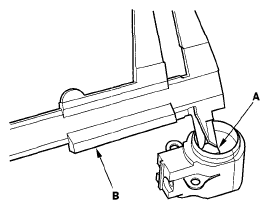
  5. Remove the four through bolts, then remove the rear housing assembly (A) and the washer (B)
    Fig 5: Identifying Rear Housing Assembly And Washer
    G05986571Courtesy of AMERICAN HONDA MOTOR CO., INC.
  6. If you are not replacing the front bearing, go to step  11 Remove the rotor from the drive-end housing
    Fig 6: Identifying Drive-End Housing And Rotor
    G05986572Courtesy of AMERICAN HONDA MOTOR CO., INC.
  7. Inspect the rotor shaft for scoring, and inspect the bearing journal surface in the drive-end housing for seizure marks
    • If the rotor is damaged, replace the rotor assembly
    • If the rotor is OK, go to step 10
  8. Remove the front bearing retainer
    Fig 7: Identifying Front Bearing Retainer
    G05986573Courtesy of AMERICAN HONDA MOTOR CO., INC.
  9. Drive out the front bearing with a brass drift and a hammer
    Fig 8: Driving Front Bearing
    G05986574Courtesy of AMERICAN HONDA MOTOR CO., INC.
  10. Install a new front bearing in the drive-end housing with a hammer, the driver handle, 15 x 135L, and the attachment, 42 x 47 mm
    Fig 9: Installing Front Bearing
    G05986575Courtesy of AMERICAN HONDA MOTOR CO., INC.

    Alternator Brush Inspection 

  11. Measure the length of both brushes (A) with a vernier caliper (B)
    • If either brush is shorter than the service limit, replace the brush holder assembly
    • If the brush length is OK, go to step 14

    Alternator Brush Length 

    Standard (New) 10 5 mm (0 41 in) 

    Service Limit. 1 5 mm (0 06 in) 

    Fig 10: Measuring Length Of Brushes
    G05986576Courtesy of AMERICAN HONDA MOTOR CO., INC.

    Rotor Slip Ring Test 

  12. Check for continuity between the slip rings (A)
    • If there is continuity, go to step 15
    • If there is no continuity, replace the rotor assembly
    Fig 11: Identifying Rotor, Rotor Shaft And Slip Rings
    G05986577Courtesy of AMERICAN HONDA MOTOR CO., INC.
  13. Check for continuity between each slip ring and the rotor (B) and the rotor shaft (C)
    • If there is no continuity, replace the rear housing assembly, and go to step 16
    • If there is continuity, replace the rotor assembly

    Alternator Reassembly 

  14. If you removed the pulley, put the rotor in the drive-end housing, then tighten its locknut to 110 N m (11 2 kgf m,81 0 lbf ft)
  15. Remove any grease or any oil from the slip rings
  16. Put the rear housing assembly and the drive-end housing/rotor assembly together, tighten the four through bolts
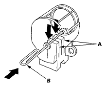
  17. Push the brushes (A) in, then insert a pin or drill bit (B) (about 1 6 mm (0 06 in) diameter) to hold them there
    Fig 12: Inserting Pin Or Drill Bit
    G05986578Courtesy of AMERICAN HONDA MOTOR CO., INC.
  18. Install the brush holder assembly, and pull out the pin or drill bit
    Fig 13: Pulling Pin Or Drill Bit
    G05986579Courtesy of AMERICAN HONDA MOTOR CO., INC.
  19. Install the end cover
  20. After assembling the alternator, turn the pulley by hand to make sure the rotor turns smoothly and without noise
  21. Install the alternator (see INSTALLATION ) and the drive belt (see DRIVE BELT REPLACEMENT )