LEMON Manuals: Even more car manuals for everyone: 1960-2025
Home >> Acura >> 2009 >> TL Base >> Repair and Diagnosis >> Engine Mechanical >> Mechanical >> Engine Block >> Piston Ring Replacement
April 5, 2026: LEMON Manuals is launched! Read the announcement.

Piston Ring Replacement

  1. Remove the pistons from the engine block (see CRANKSHAFT AND PISTON REMOVAL )
  2. Using a ring expander (A), remove the old piston rings (B)
    Fig 1: Removing Old Piston Rings
    G05987060Courtesy of AMERICAN HONDA MOTOR CO., INC.
  3. Clean all the ring grooves thoroughly with a squared-off broken ring, or a ring groove cleaner with a blade to fit the piston grooves File down the blade, if necessary The top ring and second ring grooves are 1.2 mm (0.05 in) wide, and the oil ring groove is 2.0 mm (0.08 in) wide Do not use a wire brush to clean the ring grooves, or cut the ring grooves deeper with the cleaning tool
    NOTE: If the piston is to be separated from the connecting rod, do not install new rings yet
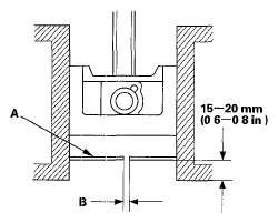
  4. Using a piston, push a new ring (A) into the cylinder bore 15-20 mm (0.6-0.8 in) from the bottom
    Fig 2: Identifying Piston Ring Gap
    G05987061Courtesy of AMERICAN HONDA MOTOR CO., INC.
  5. Measure the piston ring end-gap (B) with a feeler gauge
    • If the gap is too small, check to see if you have the proper rings for your engine
    • If the gap is too large, recheck the cylinder bore diameter against the wear limits (see step  4)
  6. J35Z6 engine If the bore is over the service limit, the engine block must be rebored

    J35Z6 engine 

    Piston Ring End-Gap 

    Top Ring 

    Standard (New): 0.20-0.35 mm (0.008-0.014 in) 

    Service Limit: 0.60 mm (0.024 in) 

    Second Ring 

    Standard (New): 0.40-0.55 mm (0.016-0.022 in) 

    Service Limit: 0.70 mm (0.028 in) 

    Oil Ring 

    Standard (New): 0.20-0.70 mm (0.008-0.028 in) 

    Service Limit: 0.80 mm (0.031 in) 

    J37A4 engine 

    Piston Ring End-Gap 

    Top Ring 

    Standard (New): 0.30-0.40 mm (0.012-0.016 in) 

    Service Limit: 0.60 mm (0.024 in) 

    Second Ring 

    Standard (New): 0.40-0.55 mm (0.016-0.022 in) 

    Service Limit: 0.70 mm (0.028 in) 

    Oil Ring 

    Standard (New): 0.20-0.35 mm (0.008-0.014 in) 

    Service Limit: 0.45 mm (0.018 in) 

  7. Install the rings as shown The top ring (A) has a 1D mark (J35Z6 engine) or 1E mark (J37A4 engine) and the second ring (B) has a 2X mark (J35Z6 engine) or 2E mark (J37A4 engine) The manufacturing marks (C) must be facing upward
    Fig 3: Identifying Piston Ring Installation Position
    G05987062Courtesy of AMERICAN HONDA MOTOR CO., INC.
  8. After installing a new set of rings, measure the ring-to-groove clearance

    J35Z6 engine 

    Top Ring Clearance 

    Standard (New): 0.055-0.080 mm (0.0022-0.0031 in) 

    Service Limit: 0.15 mm (0.006 in) 

    Second Ring Clearance 

    Standard (New): 0.030-0.055 mm (0.0012-0.0022 in) 

    Service Limit: 0.13 mm (0.005 in) 

    J37A4 engine 

    Top Ring Clearance 

    Standard (New): 0.055-0.085 mm (0.0022-0.0033 in) 

    Service Limit: 0.15 mm (0.006 in) 

    Second Ring Clearance 

    Standard (New): 0.030-0.060 mm (0.0012-0.0024 in) 

    Service Limit: 0.13 mm (0.005 in.) 

    Fig 4: Measuring Ring-To-Groove Clearance
    G05987063Courtesy of AMERICAN HONDA MOTOR CO., INC.
  9. Rotate the rings in their grooves to make sure they do not bind
  10. Position the ring end gaps as shown
Fig 5: Identifying Ring End Gaps
G05987064Courtesy of AMERICAN HONDA MOTOR CO., INC.