LEMON Manuals: Even more car manuals for everyone: 1960-2025
Home >> Acura >> 2009 >> TL Base >> Repair and Diagnosis >> Suspension >> Wheels & Tire System >> TPMS (Tire Pressure Monitoring System) >> TPMS Control Unit Replacement
April 5, 2026: LEMON Manuals is launched! Read the announcement.

TPMS Control Unit Replacement

NOTE: Make sure the TPMS control unit mounting bracket is not bent or twisted as this may affect its communication with the initiators and the tire pressure sensors
  1. Turn the ignition switch to LOCK (0), or press the engine start/stop button to select the OFF mode
  2. Remove the driver's dashboard undercover (see DRIVER'S DASHBOARD UNDERCOVER REMOVAL/INSTALLATION )
  3. Disconnect the TPMS control unit connector (A)
    NOTE: The TPMS control unit is located on the brake pedal support member (B)
    Fig 1: TPMS Control Unit Connector, Brake Pedal Support Member, Flange Bolt And TPMS Control Unit With Torque Specification
    G05987871Courtesy of AMERICAN HONDA MOTOR CO., INC.
  4. Remove the flange bolt (C) from the brake pedal support member
  5. Remove the TPMS control unit (D) with the bracket (E)
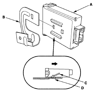
  6. Remove the TPMS control unit (A) from the bracket (B)
    NOTE: To disconnect the TPMS control unit from its bracket, insert a small flat-tipped screwdriver (C) between the TPMS control unit and the bracket shown in (D)to release the hook, then slide out the TPMS unit
    Fig 2: Disconnecting TPMS Control Unit From Bracket
    G05987872Courtesy of AMERICAN HONDA MOTOR CO., INC.
  7. Install the new TPMS control unit in the reverse order of removal
    NOTE: Make sure the TPMS control unit is properly installed You will hear a click when the TPMS control unit is securely mounted on the bracket
  8. Connect the HDS, and memorize the tire pressure sensor IDs (see MEMORIZING THE TIRE PRESSURE SENSOR ID ) Do not memorize the IDs automatically