LEMON Manuals: Even more car manuals for everyone: 1960-2025
Home >> Acura >> 2009 >> TSX Automatic >> Repair and Diagnosis >> External Pages >> Different car >> Section 67 (Fuse/Relay Boxes) >> Connector to Fuse/Relay Box Index >> Under-dash Fuse/Relay Box
April 5, 2026: LEMON Manuals is launched! Read the announcement.

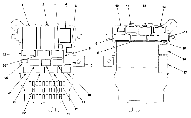
Under-dash Fuse/Relay Box

WARNING: This page is about a different car, the 2008 Acura TSX, 2007 Acura TSX, 2006 Acura TSX, 2005 Acura TSX, and 2004 Acura TSX. However, it is still accessible from the selected car via links, so may be relevant.
UNDER-DASH FUSE/RELAY BOX REFERENCE CHART

Socket Ref Terminal Connects to
A 6 6 Dashboard wire harness (see DASHBOARD WIRE HARNESS (LEFT BRANCH) )
Accessory power socket relay 19 4  
A/F sensor relay (LAF) 20 4  
B 12 6 Engine compartment wire harness (see ENGINE COMPARTMENT WIRE HARNESS (LEFT BRANCH) )
C 11 12 Engine compartment wire harness (see ENGINE COMPARTMENT WIRE HARNESS (LEFT BRANCH) )
D 13 17 Engine compartment wire harness (see ENGINE COMPARTMENT WIRE HARNESS (LEFT BRANCH) )
E 8 16 Floor wire harness (see FLOOR WIRE HARNESS (LEFT BRANCH) )
F 9 14 Floor wire harness (see FLOOR WIRE HARNESS (LEFT BRANCH) )
G ('06-08 models) 14 6 Floor wire harness (see FLOOR WIRE HARNESS (LEFT BRANCH) )
H 15 14 Floor wire harness (see FLOOR WIRE HARNESS (LEFT BRANCH) )
Ignition coil relay (IG COIL) 23 4  
J 27 21 Driver's door subharness (see DRIVER'S DOOR WIRE HARNESS )
K 26 12 Driver's door subharness (see DRIVER'S DOOR WIRE HARNESS )
M 25 3 MCIC (MPCS) service check connector
N 2 45 Dashboard wire harness (see DASHBOARD WIRE HARNESS (LEFT BRANCH) )
P 17 30 Dashboard wire harness (see DASHBOARD WIRE HARNESS (LEFT BRANCH) )
PGM-FI main relay 1 (Fl MAIN) 21 4  
PGM-FI main relay 2 (FUEL PUMP) 24 4  
Power window relay 22 4  
Q 16 14 Dashboard wire harness (see DASHBOARD WIRE HARNESS (LEFT BRANCH) )
R 3 2 Dashboard wire harness (see DASHBOARD WIRE HARNESS (LEFT BRANCH) )
S 5 2 Dashboard wire harness (see DASHBOARD WIRE HARNESS (LEFT BRANCH) )
Starter cut relay (ST CUT) 18 4  
T 7 6 Optional connector
Turn signal/hazard relay 4 6  
X 1 39 Dashboard wire harness (see DASHBOARD WIRE HARNESS (LEFT BRANCH) )
W 10 5 Roof wire harness (see ROOF WIRE HARNESS )
Fig 1: Identifying Under-Dash Fuse/Relay Box Connector Terminal
G05492778Courtesy of AMERICAN HONDA MOTOR CO., INC.