LEMON Manuals: Even more car manuals for everyone: 1960-2025
Home >> Acura >> 2010 >> RDX AWD L4-2.3L Turbo >> Repair and Diagnosis >> Heating and Air Conditioning >> Control Assembly >> Service and Repair >> Audio-HVAC Display Unit Removal/Installation
April 5, 2026: LEMON Manuals is launched! Read the announcement.

Audio-HVAC Display Unit Removal/Installation




Audio-HVAC Display Unit Removal/Installation

With premium audio system

NOTE:

- Put on gloves to protect your hands.
- Take care not to scratch the dashboard.

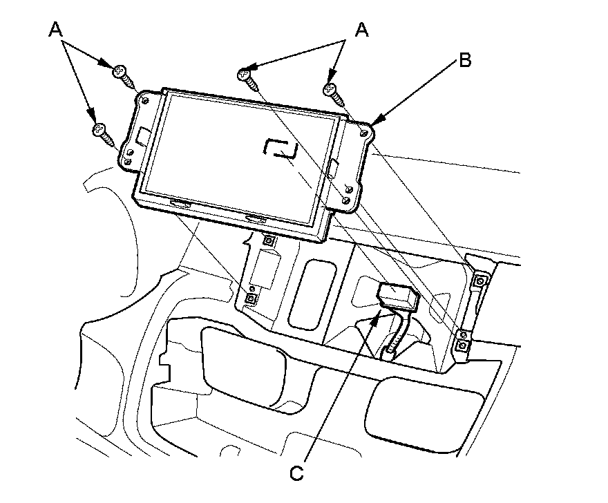
1. Remove the center panel trim Dashboard Center Panel Removal/Installation.

2. Remove the screws (A), then pull out the audio-HVAC display unit (B).





3. Disconnect the connector (C) and remove the audio-HVAC display unit.

4. Install the audio-HVAC display unit in the reverse order of removal.