LEMON Manuals: Even more car manuals for everyone: 1960-2025
Home >> Acura >> 2010 >> RL >> Repair and Diagnosis (Single Page) >> Accessories & Equipment >> Infotainment >> Navigation System >> System Description >> Navigation Function >> Function Diagram
April 5, 2026: LEMON Manuals is launched! Read the announcement.

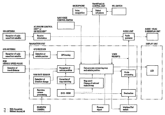
Function Diagram

Fig 1: Navigation Function Diagram
G06162990Courtesy of AMERICAN HONDA MOTOR CO., INC.