LEMON Manuals: Even more car manuals for everyone: 1960-2025
Home >> Acura >> 2010 >> RL >> Repair and Diagnosis >> Steering >> Manual Steering >> Power Steering System >> Power Steering >> Steering Gearbox Overhaul >> Exploded View
April 5, 2026: LEMON Manuals is launched! Read the announcement.

Exploded View

Fig 1: Exploded View Of Steering Gearbox With Torque Specifications
G06161343Courtesy of AMERICAN HONDA MOTOR CO., INC.

Special Tools Required 

NOTE: Refer to the as needed during this procedure.

Removal 

  1. Remove the steering gearbox (see STEERING GEARBOX REMOVAL ).

    Disassembly 

  2. Remove the boot bands (A) and tie-rod clips (B). Pull the boot away from the ends of the steering gearbox.
    Fig 2: Identifying Tie-Rod Clips And Boot Bands
    G06161344Courtesy of AMERICAN HONDA MOTOR CO., INC.
  3. Unbend the lock washers (A).
    Fig 3: Identifying Lock Washers
    G06161345Courtesy of AMERICAN HONDA MOTOR CO., INC.
  4. Hold the flat surface sections (A) of the steering rack with a wrench (B), and unscrew both rack ends (C) with another wrench (D). Be careful not to damage the rack surface with the wrench.
    Fig 4: Identifying Steering Rack
    G06161346Courtesy of AMERICAN HONDA MOTOR CO., INC.
  5. Remove the lock washer (E) and rubber stop (F).
  6. Loosen the locknut (A), then remove the rack guide screw (B).
    Fig 5: Identifying Lock Washer And Rubber Stop
    G06161347Courtesy of AMERICAN HONDA MOTOR CO., INC.
  7. Remove the spring (C) and the rack guide (D) from the gearbox housing.
  8. Remove the cylinder lines from the gearbox.
    NOTE: Use a second wrench when loosening the cylinder lines to avoid damaging to the fittings on the steering gearbox. Do not loosen the A and B connectors.
    Fig 6: Identifying Spring And Rack Guide
    G06161348Courtesy of AMERICAN HONDA MOTOR CO., INC.
  9. Drain the fluid from the cylinder fittings by slowly moving the steering rack back and forth.
  10. Remove the stepping valve motor (A), then remove the connector holder mounting bolt (B) on the valve housing.
    Fig 7: Identifying Stepping Valve Motor And Connector Holder Mounting Bolt
    G06161349Courtesy of AMERICAN HONDA MOTOR CO., INC.
  11. Remove the end plug (A) from the gearbox housing, then remove the nut (B) from the pinion shaft end.
    Fig 8: Identifying End Plug, Gearbox Housing And Nut
    G06161350Courtesy of AMERICAN HONDA MOTOR CO., INC.
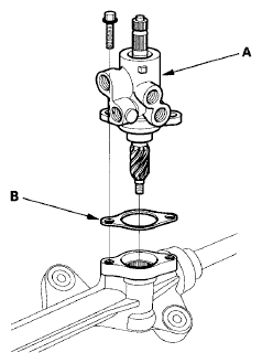
  12. Remove the flange bolt, the valve body unit (A), and the gasket (B) from the gearbox. Check that the valve turns smoothly by turning the pinion shaft. If any play or roughness is felt, replace the valve body unit with a new part if necessary. Do not try to disassemble the valve body unit.
    Fig 9: Identifying Valve Body Unit
    G06161351Courtesy of AMERICAN HONDA MOTOR CO., INC.
  13. Slide the steering rack all the way to the left.
  14. Drill a 3 mm (0.12 in.) diameter hole about 2.5-3.0 mm (0.10-0.12 in.) in depth in the staked point (A) on the cylinder. Do not allow metal shavings to enter the cylinder housing. After removing the cylinder end (B), remove any burrs at the staked point.
    Fig 10: Removing Cylinder End
    G06161352Courtesy of AMERICAN HONDA MOTOR CO., INC.
  15. Hold the gearbox housing using a C-clamp (commercially available) (A) and wooden blocks (B) as shown. Do not clamp the cylinder part of the gearbox housing in the vise. Then remove the cylinder end (C).
    Fig 11: Identifying C-Clamp, Wooden Blocks And Cylinder End
    G06161353Courtesy of AMERICAN HONDA MOTOR CO., INC.
  16. Install a commercially available bearing separator (A) in the gearbox housing as shown.
    Fig 12: Identifying Commercially Available Bearing Separator And Gearbox Housing
    G06161354Courtesy of AMERICAN HONDA MOTOR CO., INC.
  17. Place an appropriate size extension (B) on the steering rack (C).
  18. Set the steering gearbox in a press so the gearbox housing side points upward, then press the cylinder end seal (D) and steering rack out of the gearbox. Hold the steering rack to keep it from falling when pressed clear. Be careful not to damage the inner surface of the cylinder housing with the tool.
  19. Install the cylinder end seal remover attachment (A) so it will fit through the rack guide hole of the gearbox housing. Insert a 24" long, 3/8" drive extension (B), and install it on the cylinder end seal remover attachment. Make sure the cylinder end seal remover attachment is securely positioned on the backup ring edges. Be careful not to damage the inner surface of the cylinder with the cylinder end seal remover attachment.
    Fig 13: Identifying Cylinder End Seal
    G06161355Courtesy of AMERICAN HONDA MOTOR CO., INC.
  20. Place the steering gearbox in a press, then remove the cylinder end seal (A) and backup ring (B) from the gearbox by pressing on the 24" long, 3/8" drive extension.

    Note these items when pressing the cylinder end seal:

    • Keep the tool straight to avoid damaging the cylinder wall. Check the tool angle, and correct it if necessary, when removing the cylinder end seal.
    • Use a press to remove the cylinder end seal. Do not try to remove the seal by striking the tool; striking the tool could break the backup ring, and the cylinder end seal would remain in the gearbox.
    Fig 14: Removing Cylinder End Seal
    G06161356Courtesy of AMERICAN HONDA MOTOR CO., INC.
  21. Carefully pry the piston seal ring (A) and the O-ring (B) off the rack piston. Be careful not to damage the inside of the seal ring groove and piston edges when removing the seal ring.
    Fig 15: Prying Piston Seal Ring
    G06161357Courtesy of AMERICAN HONDA MOTOR CO., INC.
  22. Before removing the valve housing (A), apply vinyl tape (B) to the splines on the pinion shaft.
    Fig 16: Identifying Valve Housing
    G06161358Courtesy of AMERICAN HONDA MOTOR CO., INC.
  23. Separate the valve housing (A) from the pinion shaft/valve (B) using a press, then remove the pinion oil seal (C).
    Fig 17: Identifying Valve Housing, Pinion Shaft, Valve And Pinion Oil Seal
    G06161359Courtesy of AMERICAN HONDA MOTOR CO., INC.
  24. With your finger, check the inner wall of the valve housing where the seal ring slides. If there is a step in the wall, the housing is worn. Replace it.
    NOTE: There may be sliding marks from the seal ring on the wall of the valve housing. Replace the valve housing only if the wall is stepped.
    Fig 18: Checking Inner Wall Of Valve Housing And Seal Ring Slides
    G06161360Courtesy of AMERICAN HONDA MOTOR CO., INC.
  25. Check for wear, burrs, and other damage to the edges of the grooves in the sleeve.
    NOTE: The pinion shaft and sleeve are a precision matched set. If either the pinion shaft or sleeve must be replaced, replace both parts as a set.
    Fig 19: Identifying Pinion Shaft And Sleeve
    G06161361Courtesy of AMERICAN HONDA MOTOR CO., INC.
  26. Remove the snap ring (A) and the sleeve (B) from the pinion shaft.
    Fig 20: Identifying Snap Ring And Sleeve
    G06161362Courtesy of AMERICAN HONDA MOTOR CO., INC.
  27. Using a cutter or an equivalent tool, cut and remove the four seal rings from the sleeve. Be careful not to damage the edges of the sleeve grooves and outer surface when removing the seal rings.
    Fig 21: Identifying Seal Rings
    G06161363Courtesy of AMERICAN HONDA MOTOR CO., INC.
  28. Remove the O-ring (A). Be careful not to damage the edges of the pinion shaft groove and the outer surface when removing the O-ring.
    Fig 22: Identifying O-ring And Pinion Shaft Groove
    G06161364Courtesy of AMERICAN HONDA MOTOR CO., INC.
  29. Press the valve oil seal (A) and the ball bearing (B) out of the valve housing using a hydraulic press, driver and attachment, 24 x 26 mm.
    Fig 23: Pressing Valve Oil Seal And Ball Bearing
    G06161365Courtesy of AMERICAN HONDA MOTOR CO., INC.
  30. Clean the disassembled parts with solvent, and dry them with compressed air. Do not dip rubber parts in the solvent.

    Reassembly 

  31. Apply power steering fluid to the surface of the ball joint boot clip guide. Slip two new seal rings (A) over the ball joint boot clip guide from the smaller diameter end, and expand them. Install only two rings at a time from each end of the pinion shaft sleeve (B).

    Note these items when installing the seal ring:

    • Do not over-expand the seal ring. Install the resin seal rings with care so as not to damage them. After installation, make sure you contract the seal rings using the sleeve seal ring sizing tool.
    • There are two types of sleeve seal rings; black and brown. Do not mix the different types of rings as they are not compatible.
    Fig 24: Identifying Pinion Shaft Sleeve And Seal Ring
    G06161366Courtesy of AMERICAN HONDA MOTOR CO., INC.
  32. Align the ball joint boot clip guide with each groove in the sleeve, and slide a sleeve seal ring into each groove. After installation, compress the seal rings with your fingers temporarily.
  33. Apply power steering fluid to the seal rings on the sleeve, and to the entire inside surface of the sleeve seal ring sizing tool, then slowly insert the sleeve into the sleeve seal ring sizing tool.
    Fig 25: Applying Power Steering Fluid To Seal Rings On Sleeve
    G06161367Courtesy of AMERICAN HONDA MOTOR CO., INC.
  34. Move the sleeve back and forth several times to make the seal rings snugly fit in the sleeve. Make sure the seal rings are not twisted.
  35. Apply power steering fluid to the surface of the pinion shaft (A). Slide the sleeve (B) onto the pinion shaft by aligning the locating pin (C) on the inside of the sleeve with the cutout (D) in the shaft. Then install the new snap ring (E) securely in the pinion shaft groove. Be careful not to damage the valve seal ring when inserting the sleeve.
    Fig 26: Applying Power Steering Fluid To Pinion Shaft
    G06161368Courtesy of AMERICAN HONDA MOTOR CO., INC.
  36. Apply power steering fluid to the seal ring lip of the new valve oil seal (A), then install the seal in the valve housing (B) using a hydraulic press, driver and attachment, 32 x 35 mm. Install the seal with its grooved side facing the tool.
    Fig 27: Applying Power Steering Fluid To Seal Ring Lip
    G06161369Courtesy of AMERICAN HONDA MOTOR CO., INC.
  37. Press the ball bearing (C) into the valve housing with a hydraulic press and special tools.
  38. Apply vinyl tape (A) to the pinion shaft, then coat the vinyl tape with power steering fluid.
    Fig 28: Applying Vinyl Tape To Pinion Shaft
    G06161370Courtesy of AMERICAN HONDA MOTOR CO., INC.
  39. Insert the pinion shaft into the valve housing (B). Be careful not to damage the valve seal rings (C) and valve oil seal sealing lip (D).
  40. Install the pinion oil seal (E) onto the pinion shaft with its grooved side (F).
  41. Remove the vinyl tape from the pinion shaft, then remove any residue from the tape adhesive.
  42. Press the pinion shaft/sleeve into the valve housing with a hydraulic press. Check that the pinion shaft/ sleeve turns smoothly by hand after installing it.
    Fig 29: Identifying Pinion Oil Seal Onto Pinion Shaft
    G06161371Courtesy of AMERICAN HONDA MOTOR CO., INC.
  43. Coat the piston seal ring guide with power steering fluid, then slide it onto the rack, big end first.
  44. Position the new O-ring (A) and new piston seal ring (B) on the piston seal ring guide, then slide them down toward the big end of the tool.

    Note these items during reassembly:

    • Do not over expand the resin seal rings. Install the resin seal rings with care so as not to damage them. After installation, make sure you contract the seal ring using the piston seal ring sizing tool.
    • Replace the piston's O-ring and seal ring as a set.
    Fig 30: Identifying O-Ring And Piston Seal Ring
    G06161372Courtesy of AMERICAN HONDA MOTOR CO., INC.
  45. Pull the O-ring off into the piston groove, then pull the piston seal ring off into the piston groove on top of the O-ring.
  46. Coat the piston seal ring (A) and the inside of the piston seal ring sizing tool with power steering fluid, then carefully slide the tool onto the rack and over the piston seal ring.
    Fig 31: Identifying Piston Seal Ring
    G06161373Courtesy of AMERICAN HONDA MOTOR CO., INC.
  47. Move the piston seal ring sizing tool back and forth several times to make sure the piston seal ring fits snugly in the piston.
  48. Coat the sliding surface of the cylinder end seal slider (A) and the new cylinder end seal (B) with power steering fluid. Place the seal on the cylinder end seal slider with its grooved side (C) facing opposite the cylinder end seal slider.
    Fig 32: Identifying Cylinder End Seal And Power Steering Fluid
    G06161374Courtesy of AMERICAN HONDA MOTOR CO., INC.
  49. Coat the surface of the steering rack (A) with power steering fluid.
    Fig 33: Identifying Steering Rack
    G06161375Courtesy of AMERICAN HONDA MOTOR CO., INC.
  50. Install the cylinder end seal (B) onto the steering rack with its grooved side (C) toward the piston (D).
  51. Separate the cylinder end seal from the special tool, then remove the special tool.
  52. Install the new backup ring (A) on the steering rack, then place the backup ring and the cylinder end seal (B) against the piston (C).
    Fig 34: Identifying Backup Ring, Steering Rack And Cylinder End Seal
    G06161376Courtesy of AMERICAN HONDA MOTOR CO., INC.
  53. Apply multipurpose grease to the steering rack teeth, then insert the steering rack into the gearbox housing. Be careful not to damage the inner surface of the cylinder wall with the rack edges.
    Fig 35: Identifying Steering Rack And Gearbox Housing
    G06161377Courtesy of AMERICAN HONDA MOTOR CO., INC.
  54. Insert an appropriate size deep socket wrench (A) onto the steering rack as shown.
    Fig 36: Identifying Steering Rack
    G06161378Courtesy of AMERICAN HONDA MOTOR CO., INC.
  55. Install the cylinder end seal (B) into the bottom of the cylinder by pressing on the tool with a press. Do not push on the tool with excessive force as it may damage the cylinder end seal.
  56. Remove the tool, and center the steering rack.
  57. Coat the sliding surface of the cylinder end seal slider (A) and new cylinder end seal (B) with power steering fluid. Place the seal on the cylinder end seal slider with its grooved side (C) facing opposite the cylinder end seal slider.
    Fig 37: Identifying Cylinder End Seal And Cylinder End Seal Slider
    G06161379Courtesy of AMERICAN HONDA MOTOR CO., INC.
  58. Coat the inside surface of the cylinder end seal slider and steering rack with power steering fluid, then install the cylinder end seal (A) onto the steering rack with its grooved side toward the cylinder.
    Fig 38: Identifying Cylinder End Seal
    G06161380Courtesy of AMERICAN HONDA MOTOR CO., INC.
  59. Separate the cylinder end seal from the cylinder end seal slider, then remove the cylinder end seal slider.
  60. Push in the cylinder end seal with your finger. Be careful not to damage the face of the seal with the threads and burrs at the staked position of the cylinder housing.
  61. Hold the gearbox housing using a C-clamp (commercially available) (A) and wooden blocks (B). Do not clamp the cylinder part of the gearbox housing in the vise.
    Fig 39: Identifying Steering Rack
    G06161381Courtesy of AMERICAN HONDA MOTOR CO., INC.
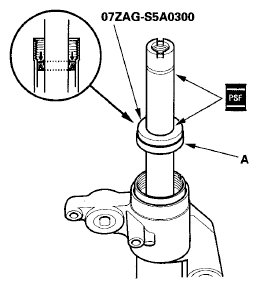
  62. Coat the inside surface of the cylinder end (A) with power steering fluid, then install the cylinder end by screwing it into the cylinder (B). Tighten the cylinder end to the specified torque.
    Fig 40: Identifying Cylinder End Location
    G06161382Courtesy of AMERICAN HONDA MOTOR CO., INC.
  63. Stake (C) the point of the cylinder shown (opposite from where the stake was removed during disassembly).
  64. Apply multipurpose grease to the bearing (A) in the gearbox housing, and install the valve body unit (B) and a new gasket (C) by engaging the gears. Note the valve body unit installation position (direction of line connections). Then loosely install the two flange bolts.
    Fig 41: Valve Body Unit And Gasket With Torque Specifications
    G06161383Courtesy of AMERICAN HONDA MOTOR CO., INC.
  65. Install the new self-locking nut (A) onto the pinion shaft end, and tighten to the specified torque.
    Fig 42: Self-Locking Nut Onto Pinion Shaft End With Torque Specifications
    G06161384Courtesy of AMERICAN HONDA MOTOR CO., INC.
  66. Tighten the flange bolts to the specified torque.
  67. Apply new sealant (Loctite 565) all the way around the threads on the end plug (B). Install the end plug onto the gearbox housing, then tighten it to the specified torque.
  68. After tightening, use a drift to stake (A) the end plug shoulder against the gearbox housing.
    Fig 43: Identifying End Plug Location
    G06161385Courtesy of AMERICAN HONDA MOTOR CO., INC.
  69. Install the stepping valve motor (A), and coat the new O-rings (B) with multipurpose grease.
    Fig 44: Stepping Valve Motor And O-Rings With Torque Specifications
    G06161386Courtesy of AMERICAN HONDA MOTOR CO., INC.
  70. Tighten the flange bolts (C) to the specified torque.
  71. Before installing the cylinder lines, coat the new O-rings with power steering fluid, then install the lines.

    Note these items during reassembly:

    • Thoroughly clean the joints of the cylinder lines. The joints must be free of foreign material.
    • Install the cylinder lines by tightening the flare nuts by hand first, then tighten the flare nuts to the specified torque.
    NOTE: Use a second wrench when tightening the cylinder lines to avoid damaging the fittings on the steering gearbox.
    Fig 45: Steering Gearbox With Torque Specifications
    G06161387Courtesy of AMERICAN HONDA MOTOR CO., INC.
  72. Apply multipurpose grease to the sliding surface of the rack guide (A), and install it onto the gearbox housing.
  73. Fig 46: Identifying Rack Guide And Gearbox Housing
    G06161388Courtesy of AMERICAN HONDA MOTOR CO., INC.
  74. Apply new sealant (Three Bond 1141) all the way around the first three threads of the rack guide screw (B), then install the spring (C), the rack guide screw, and the locknut (D).
  75. Adjust the rack guide screw (see STEERING LOCK REPLACEMENT ). After adjusting, check that the rack moves smoothly by sliding it right and left.
  76. Install a new rubber stop (A) and a lock washer (B). Align the lock washer tabs (C) with the slots (D). Install the rack end (E) while holding the lock washer in place. Repeat this step for the other side of the rack.
    Fig 47: Rubber Stop And Lock Washer With Torque Specifications
    G06161389Courtesy of AMERICAN HONDA MOTOR CO., INC.
  77. Hold the flat surface sections of the steering rack with a wrench, and tighten both rack ends. Be careful not to damage the rack surface with the wrench.
  78. Bend the lock washer (A) back against the flat spots on the rack end joint housing.
    Fig 48: Identifying Lock Washer
    G06161390Courtesy of AMERICAN HONDA MOTOR CO., INC.
  79. Apply multipurpose grease to the circumference of the rack end joint housing (A).
    Fig 49: Identifying Rack End Joint Housing
    G06161391Courtesy of AMERICAN HONDA MOTOR CO., INC.
  80. Apply a light coat of silicone grease to the boot grooves (B) on the rack ends.
  81. Center the steering rack within its stroke.
  82. Clean off any grease or contamination from the boot installation grooves (A) and around the gearbox housing. Install the boots (B) on the rack ends with the tie-rod clips (C), and fit the boot end in the installation grooves in the housing properly.
    Fig 50: Identifying Gearbox Housing, Tie-Rod Clips And Boot
    G06161392Courtesy of AMERICAN HONDA MOTOR CO., INC.
  83. After installing the boots, wipe any grease off the threaded section (D) of the rack end.
  84. Install the new boot bands by aligning the tabs (A) with the holes (B) of the band.
    Fig 51: Aligning Tabs With Holes
    G06161393Courtesy of AMERICAN HONDA MOTOR CO., INC.
  85. Close the ear portion (A) of the band (B) with commercially available pincers, Oetiker 1098 or equivalent (C).
    Fig 52: Sliding Rack Right And Left To Boots
    G06161394Courtesy of AMERICAN HONDA MOTOR CO., INC.
  86. Slide the rack right and left to make sure that the boots are not deformed or twisted.