LEMON Manuals: Even more car manuals for everyone: 1960-2025
Home >> Acura >> 2010 >> TL AWD V6-3.7L >> Repair and Diagnosis >> Specifications >> Mechanical Specifications >> Engine >> Intake Manifold
April 5, 2026: LEMON Manuals is launched! Read the announcement.

Intake Manifold

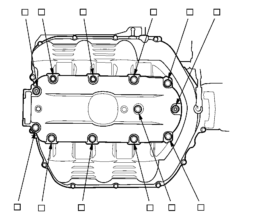
Intake manifold








Tighten the mounting bolts and nuts sequentially in three steps

Injector base





Tighten the injector base mounting bolts/nuts (D) in a crisscross pattern in three steps, beginning with the inner nuts

Upper cover








Tighten the mounting bolts and nuts sequentially in three steps