LEMON Manuals: Even more car manuals for everyone: 1960-2025
Home >> Acura >> 2010 >> TSX L4-2.4L >> Repair and Diagnosis >> Windows and Glass >> Windows >> Power Window Switch >> Testing and Inspection >> Power Window Master Switch Input Test
April 5, 2026: LEMON Manuals is launched! Read the announcement.

Power Window Master Switch Input Test




Power Window Master Switch Input Test

NOTE: Before testing, troubleshoot the multiplex integrated control unit first, using B-CAN System Diagnosis Test Mode A. Troubleshooting - B-CAN System Diagnosis Test Mode A

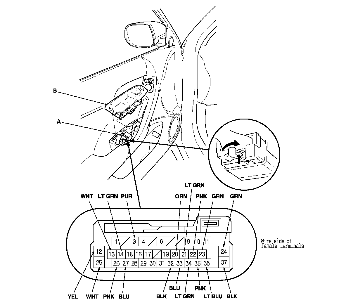
1. Turn the ignition switch to LOCK (0), open and close the driver's door, then remove the power window master switch. Power Window Master Switch Replacement

2. Disconnect the 37P connector (A) from the power window master switch (B).

3. Inspect the connector and socket terminals to be sure they are all making good contact.
- If the terminals are bent, loose or corroded, repair them as necessary and recheck the system.

- If the terminals look OK, go to step 4.

4. Reconnect the connector to the power window master switch, turn the ignition switch to ON (II), and do these input tests at the following connector.
- If any test indicates a problem, find and correct the cause, then recheck the system.

- If all the input tests prove OK, go to step 5.





5. Turn the ignition switch to LOCK (0), open and close the driver's door, then disconnect the 37P connector from the power window master switch again.

6. With the connector still disconnected, do these input tests at the following connector.
- If any test indicates a problem, find and correct the cause, then recheck the system.

- If all the input tests prove OK, the door multiplex control unit must be faulty, replace the power window master switch. Power Window Master Switch Replacement

NOTE: After replacing the power window master switch, reset the power window control unit. Testing and Inspection