LEMON Manuals: Even more car manuals for everyone: 1960-2025
Home >> Acura >> 2010 >> TSX V6-3.5L >> Repair and Diagnosis >> Powertrain Management >> Relays and Modules - Powertrain Management >> Relays and Modules - Computers and Control Systems >> Engine Control Module >> Service and Repair
April 5, 2026: LEMON Manuals is launched! Read the announcement.

Engine Control Module: Service and Repair




PCM Replacement

Special Tools Required

- Honda diagnostic system (HDS) tablet tester

- Honda interface module (HIM) and an iN workstation with the latest HDS software version

- HDS pocket tester

- GNA600 and an iN workstation with the latest HDS software version

Any one of the above updating tools can be used.

1. Connect HDS to the data link connector (DLC) (A) located under the driver's side of the dashboard.

2. Turn the ignition switch to ON (II).

3. Make sure the HDS communicates with the PCM and other vehicle systems. If it doesn't, go to the DLC circuit troubleshooting. Testing and Inspection If you are returning from the DLC circuit troubleshooting, skip steps 4 through 9, 20 through 25, and 28 through 30, and do this after replacing the PCM:
- Replace the engine oil Service and Repair and the engine oil filter. Service and Repair

- Replace the ATF. ATF Replacement

- Clean the throttle body. Procedures

4. Select the PGM-FI system with the HDS.

5. Select the INSPECTION MENU with the HDS.

6. Select the ETCS TEST, then select the TP POSITION CHECK, and follow the screen prompts.
NOTE: If the TP POSITION CHECK indicates FAILED, continue with this procedure.

7. Select the REPLACE PCM MENU, then select READ DATA, and follow the screen prompts.
NOTE:

- Doing this step copies (READS) the engine oil life data from the original PCM so you can later download (WRITES) it into the new PCM.

- If READ DATA indicates FAILED, continue with this procedure.

8. Select the A/T system with the HDS.

9. Select the REPLACE TCM/PCM MENU, then select READ DATA, and follow the screen prompts.
NOTE:

- Doing this step copies (READS) the ATF life data from the original PCM so you can later download (WRITES) it into the new PCM.

- If READ DATA indicates FAILED, continue with this procedure.

10. Turn the ignition switch to LOCK (0).

11. Jump the SCS line with the HDS.






12. Do the battery removal procedure. Removal and Replacement

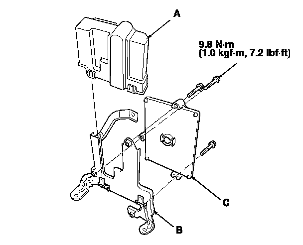
13. Remove the bolts (D).

14. Disconnect PCM connectors A, B, and C, then remove the PCM assembly (E).
NOTE: PCM connectors A, B, and C have symbols (A=(square), B=(triangle), C=(circle)) embossed on them for identification.






15. Disconnect the cover (A) and the bracket (B) from the PCM (C).

16. Install a known-good PCM in the reverse order of removal.

17. Do the battery installation procedure. Removal and Replacement

18. Turn the ignition switch to ON (II).
NOTE: DTC P0630 VIN Not Programmed or Mismatch may be stored because the VIN has not been programmed into the PCM; ignore it, and continue this procedure.

19. Manually input the VIN to the PCM with the HDS.

20. If the READ DATA (engine oil life) failed in step 7, go to step 23. Otherwise, go to step 21.

21. Select the PGM-FI system with the HDS.

22. Select the REPLACE PCM MENU, then select WRITE DATA, and follow the screen prompts.
NOTE: If the WRITE DATA indicates FAILED, continue with this procedure.

23. If the READ DATA (ATF life) failed in step 9, go to step 26. Otherwise go to step 24.

24. Select the A/T SYSTEM with the HDS.

25. Select the REPLACE TCM/PCM MENU, then select WRITE DATA, and follow the screen prompts.
NOTE: If the WRITE DATA indicates FAILED, continue with this procedure.

26. Select IMMOBI system with the HDS.

27. Enter the immobilizer PCM code that you got from the iN, and use the PCM replacement procedure in the IMMOBI MENU of the HDS; it allows you to start the engine.

28. If the TP POSITION CHECK failed in step 6 clean the throttle body, Procedures then go to step 26.

29. If the READ DATA failed in step 7 or the WRITE DATA failed in step 22, replace the engine oil Service and Repair and engine oil filter, Service and Repair then go to step 30.

30. If the READ DATA failed in step 9 or the WRITE DATA failed in step 25, replace the ATF, ATF Replacement then go to step 31.

31. Select PGM-FI system, and reset the PCM with the HDS.

32. Update the PCM if it does not have the latest software. ECM/PCM Update

33. Do the PCM idle learn procedure. ECM/PCM Idle Learn Procedure

34. Do the CKP pattern clear/CKP pattern learn procedure. Reading and Clearing Diagnostic Trouble Codes