LEMON Manuals: Even more car manuals for everyone: 1960-2025
Home >> Acura >> 2010 >> ZDX V6-3.7L >> Repair and Diagnosis >> Specifications >> Mechanical Specifications >> Engine >> Intake Manifold
April 5, 2026: LEMON Manuals is launched! Read the announcement.

Intake Manifold

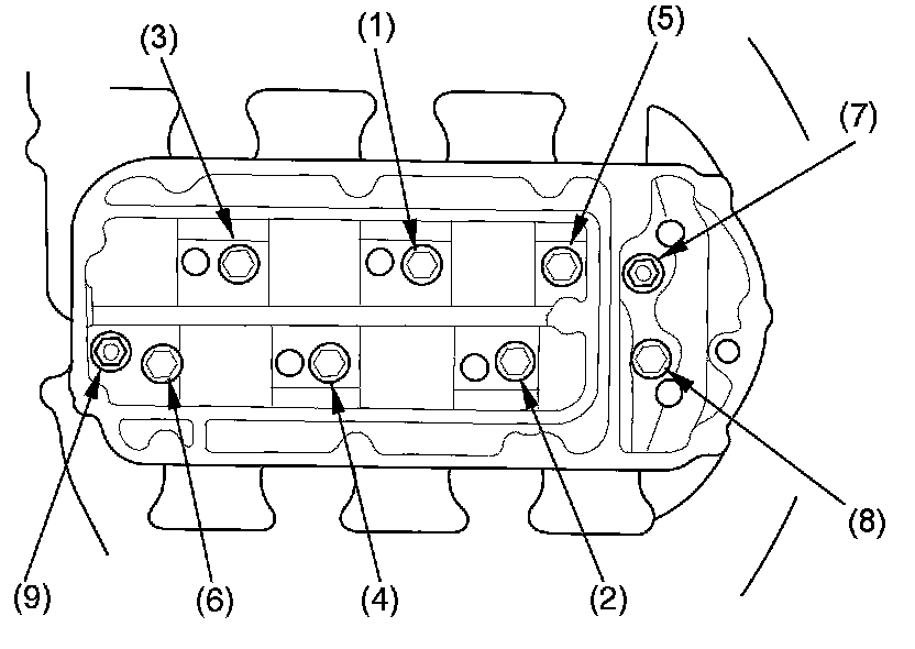
Injector Base

Tighten 22 Nm (2.2 kgf-m, 16 ft lb)

Tighten the injector base mounting bolts/nuts in a crisscross pattern in three steps, beginning with the inner nuts

Intake manifold





Tighten 22 Nm (2.2 kgf-m, 16 ft lb)

Tighten the bolts and nuts sequentially in three steps