LEMON Manuals: Even more car manuals for everyone: 1960-2025
Home >> Acura >> 2011 >> RDX AWD L4-2.3L Turbo >> Repair and Diagnosis >> Powertrain Management >> Computers and Control Systems >> Information Bus >> Description and Operation >> Multiplex Integrated Control System Description
April 5, 2026: LEMON Manuals is launched! Read the announcement.

Multiplex Integrated Control System Description




Multiplex Integrated Control System Description

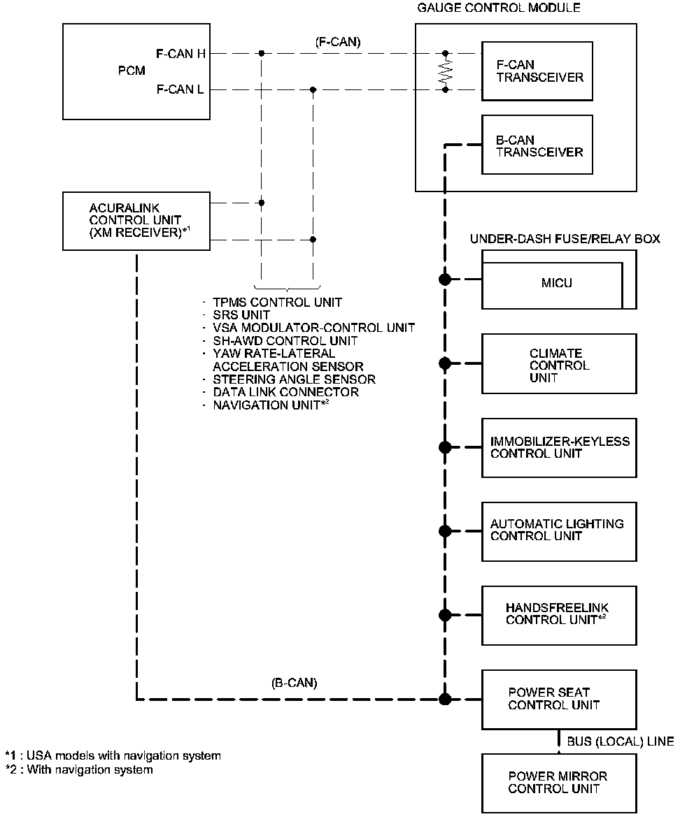
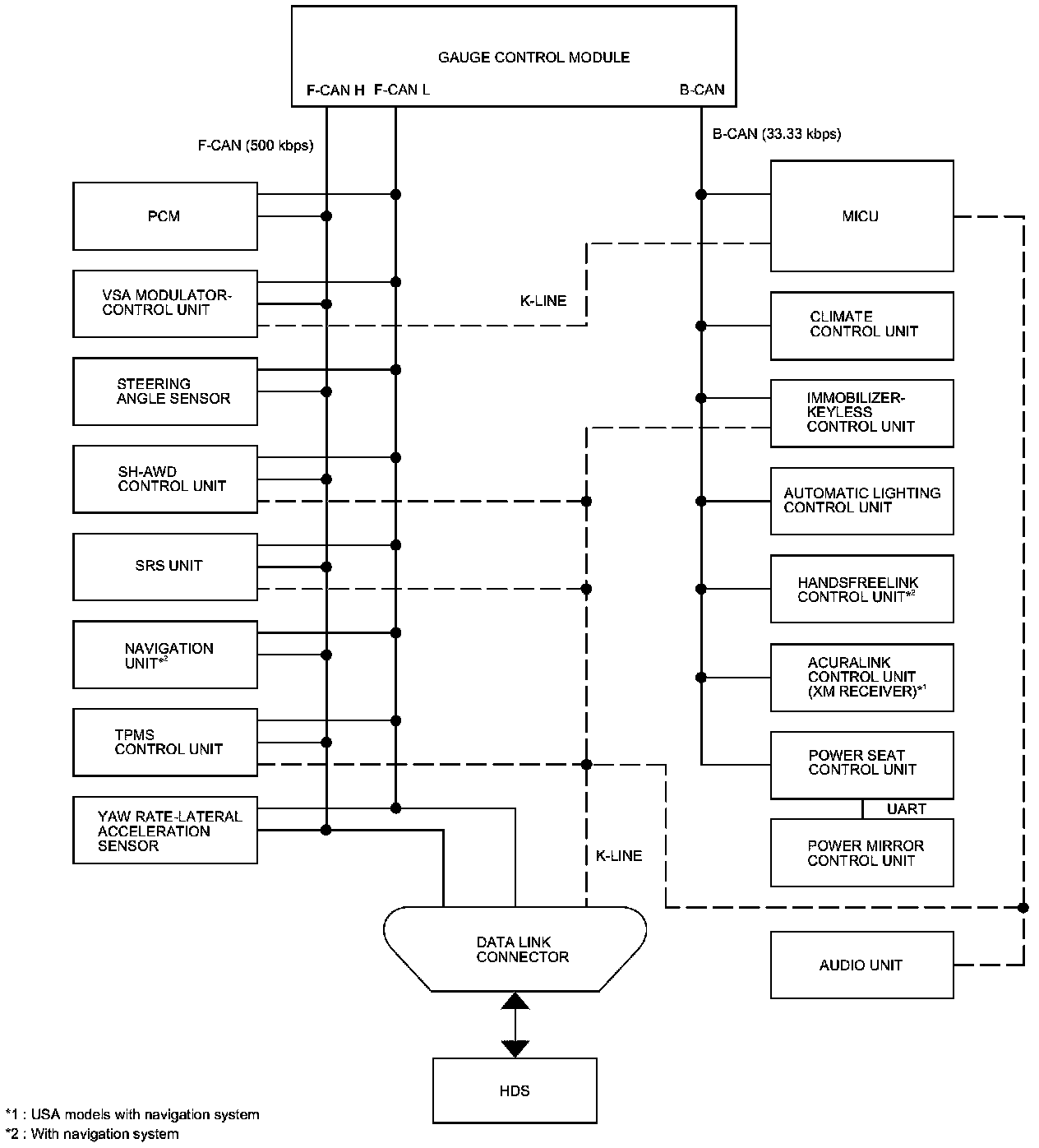
Body Controller Area Network (B-CAN) and Fast Controller Area Network (F-CAN)

The body controller area network (B-CAN) and the fast controller area network (F-CAN) share information between multiple electronic control units (ECUs). B-CAN communication moves at a slower speed (33.33 kbps) for convenience related items and for other functions. F-CAN information moves at a faster speed (500 kbps) for "real time" functions such as fuel and emissions data. To allow both systems to share information, the gauge control module translates and relays the information from B-CAN to F-CAN and from F-CAN to B-CAN. This is called the Gate Way Function.





- The single wire method is used between the units not requiring the communication to move at a fast speed.
- Using a single wire method reduces the number of the wires used on the body controller area network.

Gateway Function

The gauge control module acts as a gateway to allow both systems to share information. The gauge control module translates and relays information from B-CAN to F-CAN and from F-CAN to B-CAN.






Network "Loss of Communication" Error Checking Function

The ECUs on the CAN circuit send messages to each other. If there are any communication malfunctions on the network, the multi-information display (MID) on the gauge control module can indicate the error messages by entering the gauge self-diagnostic function Initial Inspection and Diagnostic Overview.






Self-Diagnostic Function

By connecting the HDS to the data link connector (DLC), the HDS can retrieve the diagnostic results from the MICU via a diagnostic line called the K-LINE. The K-LINE is a separate communication line from the CAN line, but it is connected to most of the CAN related ECUs. The MICU is a gateway between the HDS and B-CAN related ECUs, and sends B-CAN diagnostic results to the HDS. When performing a function test with the HDS, the HDS sends an output signal through the K-LINE to the MICU. The MICU either relays the request to another ECU, or commands the function itself.






Wake-Up and Sleep Function

The multiplex integrated control system has "wake-up" and "sleep" functions to decrease parasitic draw on the battery when the ignition switch is turned to LOCK (0).

- In the sleep mode, the MICU stops functioning (communication and CPU control) when it is not necessary for the system to operate.
- As soon as any operation is requested (for example, a door is unlocked), the related control unit in the sleep mode immediately wakes up and begins to function.
- When the ignition switch is turned to LOCK (0) with all the doors and the tailgate closed, and the driver's door is opened, then closed, there is a delay about 40 seconds before the control unit goes from the wake-up mode to the sleep mode.
- The sleep mode will not function if any door and tailgate are opened or if a key is in the ignition.

NOTE: Sleep and Wake-Up Mode Test Multiplex Integrated Control System Sleep and Wake-Up Mode Test.

Fail-Safe Function

To prevent improper operation, the MICU has a fail-safe function. In the fail-safe mode, the output signal is fixed when any part of the system malfunctions (for example, a faulty control unit or communication line).

Each control unit has a hardware fail-safe function that fixes the output signal when there is a CPU malfunction, and a software fail-safe function that ignores the signal from a malfunctioning control unit , which allows the system to operate normally.

Hardware Fail-Safe Control

Fail-safe function

When a CPU problem or an abnormal power supply voltage is detected, the MICU moves to the hardware fail-safe mode, and each system output load is set to the pre-programmed fail-safe value.

Software Fail-Safe Control

When any of the data from the B-CAN circuit cannot be received within a specified time, or an unusual combination of the data is recognized, the MICU moves to the software fail-safe mode. The data that cannot be received is compulsorily fixed to a pre-programmed value.

Power Supply Voltage Monitoring Function

The MICU monitors the power supply voltage (back-up voltage). If the voltage goes below 10 V, the MICU will not store a DTCs.






Entry Lights Control System*

The MICU control of the ceiling light ON/OFF and dimming is based on input signals from each switch.










Lighting System (Headlights, Parking Lights, Side Marker Lights, Fog Lights, License Plate Lights, and Taillights)*

The MICU contains the relay circuits of the headlight high/low beam and taillights, and control of the lighting system ON/OFF is based on input signals from the combination light switch.










Daytime Running Lights

The MICU control of the exterior lights and daytime running lights is based on input signals from each switch.






Automatic Lighting System

The MICU control of the automatic lighting system is based on input signals from each switch and B-CAN signals.






Turn Signal/Hazard Warning Lights

The MICU control of the turn signal/hazard warning lights is based on input signals from the turn signal and hazard warning switches.






Power Door Locks (Vehicle Speed Sensor)*

The MICU control of the door lock actuators is based on B-CAN and input signals.










Power Door Locks (Normal LOCK/UNLOCK Operation)*

The MICU control of the door lock actuators is based on input signals of each switch.










Door Lock Response Operation*

The MICU control of the door lock actuators is based on B-CAN signals.










Power Window Key-off Operation

The MICU control of the power windows key-off operation is based on input signals.






Keyless Entry System*

The MICU control of the door lock actuators is based on input signals of each switch and the B-CAN signals.










Keyless PANIC

The MICU control of the keyless PANIC is based on B-CAN signals.






Security Alarm System*

The MICU control of the lighting system and horn is based on input signals of each switch and the B-CAN signals.










Key Interlock

The MICU control of the key interlock solenoid is based on IG1, the transmission range switch, and the park-pin switch signals.






Answer Back Response Operation *

The MICU control of the lighting system and keyless buzzer is based on B-CAN signals.










Windshield Wiper/Washer

The MICU control of the windshield wiper motor and the washer motor is based on IG1, wiper/washer switch windshield wiper motor signals and the B-CAN signals.






Rear Window Wiper/Washer

The MICU control of the rear window wiper motor and the washer motor is based on IG1, wiper/washer switch and the rear window wiper motor signals.






Collision Detection Signal (CDS)

The MICU control of the door lock actuators is based on IG1 and the B-CAN signals.






HDS Inputs and Function Tests

Certain inputs happen so quickly that the Data List on the HDS cannot update fast enough. Hold the switch that is being tested while monitoring the Data List. This should give the HDS time to update the signal on the Data List.

Because the HDS software is updated to support the release for newer vehicles, it is not uncommon to see system function tests that are not supported.

Make sure that the most current software is loaded.

Input:





















Function Test: