LEMON Manuals: Even more car manuals for everyone: 1960-2025
Home >> Acura >> 2011 >> RL V6-3.7L >> Repair and Diagnosis >> Lighting and Horns >> Headlamp >> Headlamp Alignment Control Module >> Testing and Inspection
April 5, 2026: LEMON Manuals is launched! Read the announcement.

Headlamp Alignment Control Module: Testing and Inspection




Headlight Leveling Control Unit Input Test

1. Turn the ignition switch to LOCK (0).

2. Remove the driver's dashboard undercover Driver's Dashboard Undercover Removal / Installation, and the driver's dashboard lower cover Driver's Dashboard Lower Cover Removal / Installation.

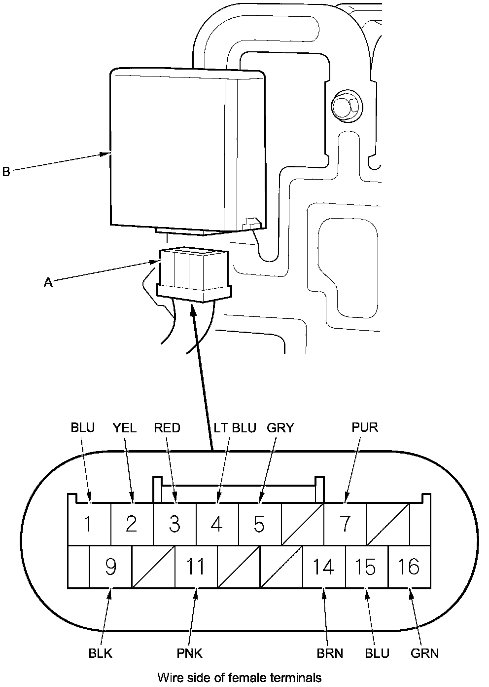
3. Disconnect the 16P connector (A) from the headlight leveling control unit (B).






4. Inspect the connector and socket terminals to be sure they are all making good contact.

- If the terminals are bent, loose or corroded, repair them as necessary, and recheck the system.
- If the terminals are OK, go to step 5.

5. With the connector still disconnected, do the following input tests.

- If any test indicates a problem, find and correct the cause, then recheck the system.
- If all the input tests prove OK, go to step 6.





6. Reconnect the connector to the control unit, and do the following input tests.

- If any tests indicates a problem, find and correct the cause, then recheck the system.
- If all the input tests prove OK, replace the headlight leveling control unit.





7. After replacing the control unit, do the headlight initial position learning procedure Programming and Relearning.