LEMON Manuals: Even more car manuals for everyone: 1960-2025
Home >> Acura >> 2011 >> RL V6-3.7L >> Repair and Diagnosis >> Powertrain Management >> Computers and Control Systems >> Camshaft Position Sensor >> Service and Repair
April 5, 2026: LEMON Manuals is launched! Read the announcement.

Camshaft Position Sensor: Service and Repair




CMP Sensor Replacement

1. Remove the timing belt Timing Belt Removal.

2. Remove the front camshaft pulley (CMP pulse plate) (A).





3. Disconnect the CMP sensor connector (B), then remove the back cover (C).

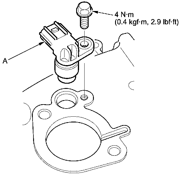
4. Remove the CMP sensor (A) from the back cover.





5. Install the parts in the reverse order of removal, then reinstall the timing belt Timing Belt Installation.

6. Do the CKP pattern clear/CKP pattern learn procedure.