LEMON Manuals: Even more car manuals for everyone: 1960-2025
Home >> Acura >> 2011 >> RL V6-3.7L >> Repair and Diagnosis >> Steering and Suspension >> Steering >> Power Steering >> Steering Control Module >> Service and Repair
April 5, 2026: LEMON Manuals is launched! Read the announcement.

Steering Control Module: Service and Repair




ECPS Control Unit Removal/Installation

1. Remove the driver's dashboard undercover Driver's Dashboard Undercover Removal / Installation, and the driver's dashboard lower cover Driver's Dashboard Lower Cover Removal / Installation.

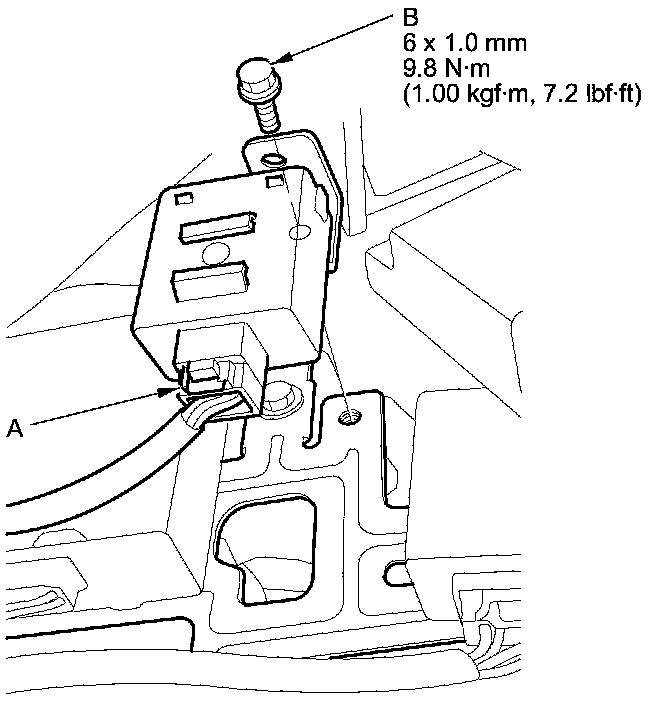
2. Disconnect the connector (A) from the ECPS control unit, and remove the bolt (B).





3. Install the ECPS control unit in the reverse order of removal.