LEMON Manuals: Even more car manuals for everyone: 1960-2025
Home >> Acura >> 2011 >> RL >> Repair and Diagnosis (Single Page) >> Electrical >> Body Electrical >> OEM Fuse/Relay Boxes >> Fuse/Relay Boxes >> Under-hood Fuse/Relay Box >> Connector-to-Fuse/Relay Box Index
April 5, 2026: LEMON Manuals is launched! Read the announcement.

Connector-to-Fuse/Relay Box Index

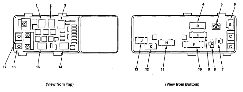
Fig 1: Under-hood Fuse/Relay Box (6-7)
G07748071
Ref Socket Cavities Connects to
1 Blower Motor Relay 4  
2 A/C Compressor Clutch Relay 4  
3 Rear Window Defogger Relay 4  
4 D 9 Engine Compartment Wire Harness (Left Branch) (see ENGINE COMPARTMENT WIRE HARNESS (LEFT BRANCH) )
5 A (ELD Unit) 3 Engine Compartment Wire Harness (Left Branch) (see ENGINE COMPARTMENT WIRE HARNESS (LEFT BRANCH) )
6 G 2 Engine Compartment Wire Harness (Left Branch) (see ENGINE COMPARTMENT WIRE HARNESS (LEFT BRANCH) )
7 B 1 Engine Compartment Wire Harness (Left Branch) (see ENGINE COMPARTMENT WIRE HARNESS (LEFT BRANCH) )
8 C 2 Engine Compartment Wire Harness (Left Branch) (see ENGINE COMPARTMENT WIRE HARNESS (LEFT BRANCH) )
9 E 16 Engine Compartment Wire Harness (Left Branch) (see ENGINE COMPARTMENT WIRE HARNESS (LEFT BRANCH) )
10 F 20 Engine Compartment Wire Harness (Left Branch) (see ENGINE COMPARTMENT WIRE HARNESS (LEFT BRANCH) )
11 H 14 Engine Compartment Wire Harness (Left Branch) (see ENGINE COMPARTMENT WIRE HARNESS (LEFT BRANCH) )
12 K 5 Engine Compartment Wire Harness (Left Branch) (see ENGINE COMPARTMENT WIRE HARNESS (LEFT BRANCH) )
13 J 10 Engine Compartment Wire Harness (Left Branch) (see ENGINE COMPARTMENT WIRE HARNESS (LEFT BRANCH) )
14 Fog Light Relay 4  
15 Windshield Wiper Motor Relay 4  
16 T1   Starter Cable (see STARTER CABLE )
17 T101   Engine Wire Harness (Front Branch) (see ENGINE WIRE HARNESS (FRONT BRANCH) )