LEMON Manuals: Even more car manuals for everyone: 1960-2025
Home >> Acura >> 2011 >> RL >> Repair and Diagnosis >> Body & Frame >> Door Locks >> Keyless Access System >> RF Unit 1 Replacement
April 5, 2026: LEMON Manuals is launched! Read the announcement.

RF Unit 1 Replacement

  1. Remove the navigation display unit (see NAVIGATION DISPLAY UNIT REMOVAL/INSTALLATION ).
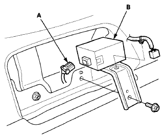
  2. Disconnect the 6P connector (A) from RF unit 1 (B).
    Fig 1: Disconnecting 6P Connector From Rf Unit
    G07363814Courtesy of AMERICAN HONDA MOTOR CO., INC.
  3. Remove the bolt and RF unit 1.
  4. Install the unit in the reverse order of removal.