LEMON Manuals: Even more car manuals for everyone: 1960-2025
Home >> Acura >> 2011 >> RL >> Repair and Diagnosis >> Body & Frame >> Windows >> Glass >> Rear Window Replacement
April 5, 2026: LEMON Manuals is launched! Read the announcement.

Rear Window Replacement

NOTE:
  • Put on gloves to protect your hands.
  • Wear eye protection while cutting the glass adhesive with piano wire.
  • Use seat covers to avoid damaging any surfaces.
  • Do not damage the rear window defogger grid lines, the window antenna grid lines, or the terminals.
  1. Remove these items:
  2. Disconnect the window antenna connectors (A) and the rear window defogger connectors (B).

    Left side 

    Fig 1: Disconnecting Window Antenna Connectors And Rear Window Defogger Connectors
    G07354345Courtesy of AMERICAN HONDA MOTOR CO., INC.

    Right side 

    Fig 2: Disconnecting Window Antenna Connectors And Rear Window Defogger Connectors For Rear
    G07354346Courtesy of AMERICAN HONDA MOTOR CO., INC.
  3. If the old rear window will be reinstalled, make alignment marks across the glass and the body with a grease pencil.
  4. Pull down the rear portion of the headliner (A) by detaching the clips. Take care not to bend the headliner excessively, or you may crease or break it.
    Fig 3: Pulling Down Rear Portion Of Headliner
    G07354347Courtesy of AMERICAN HONDA MOTOR CO., INC.
  5. Apply protective tape along the inside and outside edges of the body. Make a hole with an awl through the adhesive from inside the vehicle at the corner portion of the rear window. Push a piece of piano wire through the hole, and wrap each end around a piece of wood.
  6. Remove the lower molding (A) from the lower edge of the rear window (B). If necessary, cut the lower molding with a utility knife.
    Fig 4: Removing Lower Molding From Lower Edge Of Rear Window
    G07354348Courtesy of AMERICAN HONDA MOTOR CO., INC.
  7. With a helper on the outside, pull the piano wire (A) back and forth in a sawing motion. Hold the piano wire as close to the rear window (6) as possible to prevent damage to the body, and carefully cut through the adhesive (C) around the entire rear window.
    Fig 5: Pulling Piano Wire
    G07354349Courtesy of AMERICAN HONDA MOTOR CO., INC.

    Cutting positions 

    Fig 6: Identifying Cutting Positions
    G07354350Courtesy of AMERICAN HONDA MOTOR CO., INC.
  8. Carefully remove the rear window.
  9. Scrape smooth the old adhesive with a knife until there is a thickness of about 2 mm (0.08 in) on the bonding surface around the entire rear window opening flange:
    • Do not scrape down to the painted surface of the body; damaged paint will interfere with proper bonding.
    • Remove the fasteners from the body.
  10. Clean the body bonding surface with a shop towel dampened in isopropyl alcohol. After cleaning, keep oil, grease, and water from getting on the surface.
  11. If you are reinstalling the old rear window, scrape off all of the old adhesive, the rubber dams and the side fasteners from the rear window with a putty knife. Clean the bonding surface on the inside face and the edge of the rear window with isopropyl alcohol. Make sure the bonding surface is kept free of water, oil, and grease.
  12. Apply glass primer to the fasteners and the rubber dam mounting areas on the rear window, and let it dry, attach the upper rubber dam (A), the lower rubber dam (B), the side rubber dams (C), the clips (D), and the side fasteners (E) with adhesive tape to the inside face of the rear window (F) as shown:
    • Be sure the lower rubber dam, the clips, and the side fasteners line up with the alignment marks (G).
    • Be sure the convex portion (H) of the left and the right clips face toward the left.
    • Be careful not to touch the windshield where the adhesive will be applied.
    Fig 7: Identifying Alignment Marks
    G07354351Courtesy of AMERICAN HONDA MOTOR CO., INC.
  13. Attach the lower molding (A) with adhesive tape (B) to the lower edge of the rear window (C):
    • After installing the molding, cut the ends (D) of the molding as shown.
    • Be careful not to touch the windshield where the adhesive will be applied.
    Fig 8: Attaching Lower Molding With Adhesive Tape To Lower Edge Of Rear Window
    G07354352Courtesy of AMERICAN HONDA MOTOR CO., INC.
  14. Attach the side fasteners (A) with adhesive tape to the rear window opening flange (B) of the body on both sides.
    Fig 9: Attaching Side Fasteners With Adhesive Tape To Rear Window Opening Flange
    G07354353Courtesy of AMERICAN HONDA MOTOR CO., INC.
  15. If you are installing a new rear window, set the rear window (A) in the opening, and center it. Make alignment marks (B) across the rear window and the body with a grease pencil at the four points shown. Make sure the pin (C) of both clips (D) contact with the edge of the body holes. Be careful not to touch the rear window where the adhesive will be applied.
    Fig 10: Identifying Alignment Marks
    G07354354Courtesy of AMERICAN HONDA MOTOR CO., INC.
  16. Remove the rear window.
  17. Apply a light coat of glass primer to the rear window (A) along the edge of the rubber dams (B) and the molding (C) as shown, then lightly wipe it off with gauze or cheesecloth:
    • Do not apply body primer to the rear window, and do not mix up the body primer applicator and the glass primer applicator.
    • Never touch the primed surfaces with your hands. If you do, the adhesive may not bond to the rear window properly, causing a leak after the rear window is installed.
    • Keep water, dust, and abrasive materials away from the primed surfaces.
    Fig 11: Applying Glass Primer To Rear Window Along Edge Of Rubber Dams And Molding
    G07354355Courtesy of AMERICAN HONDA MOTOR CO., INC.
  18. Carefully apply a light coat of body primer to any exposed paint or metal around the flange where the adhesive will be applied. Let the primer dry for at least 10 minutes:
    • Do not apply body primer to any remaining original adhesive on the flange.
    • Be careful not to mix up the body primer applicator and the glass primer applicator.
    • Never touch the primed surfaces with your hands.
    Fig 12: Identifying Body Primer Application Points
    G07354356Courtesy of AMERICAN HONDA MOTOR CO., INC.
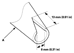
  19. Cut a "V" in the end of the nozzle (A) on the adhesive cartridge as shown.
    Fig 13: Identifying Nozzle End Dimension For Cutting V Shape
    G07354357Courtesy of AMERICAN HONDA MOTOR CO., INC.
  20. Put the cartridge in a caulking gun, and run a continuous bead of the adhesive (A) around the rear window (B) along the edge of the rubber dams (C) and the molding (D) as shown.
    NOTE: Apply the adhesive within 30 minutes after applying the glass primer. Make a slightly thicker bead at each corner.
    Fig 14: Body Primer Application Points For Rear Window Along Edge Of Rubber Dams
    G07354358Courtesy of AMERICAN HONDA MOTOR CO., INC.
  21. Hold the rear window with suction cups over the opening, align it with the alignment marks you made in step 15, and set it down on the adhesive. Lightly push on the rear window until its edges are fully seated on the adhesive all the way around.
    NOTE: Do not open or close any of the doors for about an hour until the adhesive is dry.
  22. Remove the excess adhesive with a putty knife or a shop towel dampened in isopropyl alcohol.
  23. Wait at least an hour for the adhesive to dry, then spray water over the rear window, and check for leaks. Mark the leaking areas, let the rear window dry, then seal with sealant. Let the vehicle stand for at least 4 hours after rear window installation. If the vehicle has to be used within the first 4 hours, it must be driven slowly.
  24. Reinstall all removed parts.
NOTE: Advise the client not to do the following things for 2 to 3 days: