LEMON Manuals: Even more car manuals for everyone: 1960-2025
Home >> Acura >> 2011 >> RL >> Repair and Diagnosis >> Steering >> Power Steering >> Power Steering System >> Pump Replacement
April 5, 2026: LEMON Manuals is launched! Read the announcement.

Pump Replacement

  1. Place a suitable container under the vehicle.
  2. Remove the right upper fender trim (see UPPER FENDER TRIM REPLACEMENT ).
  3. Drain the power steering fluid from the reservoir (see FLUID CHECK/REPLACEMENT  ).
  4. Remove the drive belt (A) from the pump pulley (see DRIVE BELT REPLACEMENT ).
    Fig 1: Removing Drive Belt From Pump Pulley With Torque Specifications
    G07363007Courtesy of AMERICAN HONDA MOTOR CO., INC.
  5. Cover the auto-tensioner, the alternator, and the A/C compressor with several shop towels to protect them from spilled power steering fluid. Disconnect the pump inlet hose (B) and the pump outlet hose (C) from the pump (D), and plug them. Take care not to spill the fluid on the vehicle. Wipe off any spilled fluid at once. Do not turn the steering wheel with the pump removed.
  6. Remove the pump mounting bolts (E), then remove the pump.
  7. Cover the opening of the pump with a piece of tape to prevent foreign material from entering the pump.
  8. Transfer the pump inlet hose and the pump outlet hose from the original pump onto the new pump with a new O-ring (F).
  9. Loosely install the pump in the pump bracket with the mounting bolts, then tighten the pump fittings to the specified torque.
  10. Tighten the pump mounting bolts to the specified torque.
  11. Install the drive belt (A) (see DRIVE BELT REPLACEMENT ).

    Note these items during belt installation:

    • Inspect the belt for wear and cracks. Replace the belt if necessary.
    • Make sure that the belt is properly positioned on the pulleys (B).
    • Do not get power steering fluid or grease on the auto-tensioner, alternator, A/C compressor, and drive belt or pulley faces. Clean off any fluid or grease before installation.
      Fig 2: Installing Drive Belt
      G07363008Courtesy of AMERICAN HONDA MOTOR CO., INC.
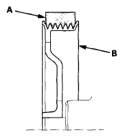
  12. Fill the reservoir to the upper level line (see FLUID CHECK/REPLACEMENT  ).
  13. Start the engine, and check for fluid leaks.
  14. Install the right upper fender trim (see UPPER FENDER TRIM REPLACEMENT ).