LEMON Manuals: Even more car manuals for everyone: 1960-2025
Home >> Acura >> 2011 >> TL AWD V6-3.7L >> Repair and Diagnosis >> Body and Frame >> Locks >> Keyless Entry >> Testing and Inspection >> Component Tests and General Diagnostics >> Keyless Access Remote Test (With Keyless Access System)
April 5, 2026: LEMON Manuals is launched! Read the announcement.

Keyless Access Remote Test (With Keyless Access System)




Keyless Access Remote Test

With Keyless Access System

NOTE:

- If the doors unlock or lock with the remote, but the LED on the remote does not come on, the LED is faulty; replace the remote.
- If any door is open, you cannot lock the doors with the remote.
- If you unlocked the doors with the remote, but do not open any of the doors within 30 seconds, the doors relock automatically.
- The doors do not lock with the transmitter if the power mode is in ACC.

With HDS

1. Press the lock or unlock button at least 10 times to reset the remote.

- If the locks work, the remote is OK.
- If any of the remote buttons do not work, replace the remote, then register the remote Programming and Relearning.
- If the locks do not work, go to step 2.

2. Connect the HDS to the data link connector (DLC).

3. Select KEYLESS TRANSMITTER from the BODY ELECTRICAL SYSTEM SELECT menu, then select INSPECTION, then KEYLESS CHECK.

4. Press the lock, unlock, or panic button and check the response on the screen of the HDS.

NOTE: The door lock actuators may or may not cycle when receiving input from the remote.

- If KEYLESS ENTRY TRANSMITTER CODE IS RECEIVED is indicated, the remote is OK.
- If DIFFERENT KEYLESS ENTRY TRANSMITTER CODE IS RECEIVED is indicated, the remote is not registered to the vehicle. If necessary, register the remote Programming and Relearning.
- If KEYLESS ENTRY TRANSMITTER CODE IS NOT RECEIVED is indicated, go to step 5.

5. Open the remote, and check for water damage.

- If you find any water damage, replace the remote, then register it Programming and Relearning.
- If there is no water damage, go to step 6.

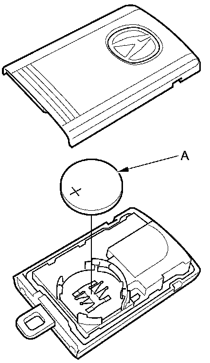
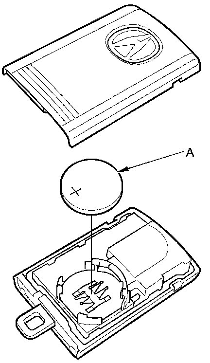
6. Replace the remote battery (A) with a new one (CR2032), and press the lock or unlock button and check the response on the screen of the HDS.

- If KEYLESS ENTRY TRANSMITTER CODE IS RECEIVED is indicated, the remote is OK.
- If KEYLESS ENTRY TRANSMITTER CODE IS NOT RECEIVED is indicated, go to step 7.





7. Use a different known-good remote assembly and repeat steps 3 and 4.

NOTE: The remote does not need to be programmed to the vehicle for this test.

- If (DIFFERENT) KEYLESS ENTRY TRANSMITTER CODE IS RECEIVED is indicated, replace the remote and do the keyless access system registration Programming and Relearning.
- If KEYLESS ENTRY TRANSMITTER CODE IS NOT RECEIVED is indicated, the keyless access control unit is faulty, replace it and do the keyless access system registration Programming and Relearning.

NOTE: The remote is combined with the immobilizer transponder, so when the transponder is registered by the HDS, the remote programming is completed automatically.

Without HDS

1. Open the remote, and check for water damage.

- If you find any water damage, replace the remote.
- If there is no water damage, go to step 2.

2. Replace the remote battery (A) with a new one (CR2032), and try to lock and unlock the doors with the remote by pressing the lock or unlock button at least 10 times.

- If the doors lock and unlock, the remote is OK.
- If the doors do not lock and unlock, go to step 3.





3. Reprogram the remote with the HDS, then try to lock and unlock the doors.

- If the doors lock and unlock, the remote is OK.
- If the doors do not lock and unlock, try and program to another vehicle.
- If the remote programs to another vehicle, go to B-CAN System Diagnosis Test Mode A Troubleshooting - B-CAN System Diagnosis Test Mode A.
- If the remote will not program to another vehicle, replace it.