LEMON Manuals: Even more car manuals for everyone: 1960-2025
Home >> Acura >> 2011 >> TL AWD V6-3.7L >> Repair and Diagnosis >> Maintenance >> Fluids >> Specifications
April 5, 2026: LEMON Manuals is launched! Read the announcement.

Fluids: Specifications




Lubricants and Fluids










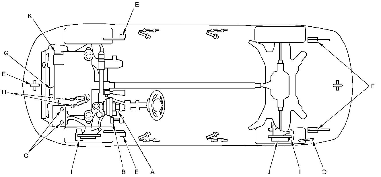
For the details of the lubrication points and the type of lubricants to be applied, refer to the illustrated index and the various work procedures (such as Assembly/Reassembly, Replacement, Overhaul, Installation, etc.) contained in each section.





NOTE:

- Lubricate the following areas using the recommended lubricants and fluids.
- In corrosive areas, more frequent lubrication is necessary.