LEMON Manuals: Even more car manuals for everyone: 1960-2025
Home >> Acura >> 2011 >> TL Base >> Repair and Diagnosis >> Accessories & Equipment >> Seats >> Driver Position Memory System (DPMS) >> Power Seat Adjustment Switch Test/Replacement
April 5, 2026: LEMON Manuals is launched! Read the announcement.

Power Seat Adjustment Switch Test/Replacement

NOTE: SRS components are located in this area Review the SRS component locations (see COMPONENT LOCATION INDEX ) and the precautions and procedures (see PRECAUTIONS AND PROCEDURES ) before doing repairs or service.
  1. Remove the driver's seat (see FRONT SEAT REMOVAL/INSTALLATION )
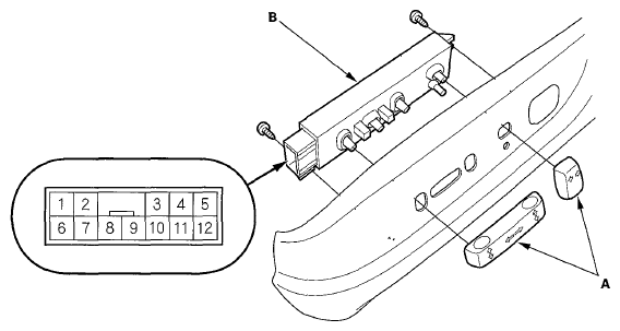
  2. Remove the power seat adjustment switch knobs (A) and the recline cover from the driver's seat (see FRONT SEAT RECLINE COVER REMOVAL/INSTALLATION ), then remove the two screws and the power seat adjustment switch (B)
    Fig 1: Identifying Power Seat Adjustment Switch Knobs And Screws
    G05989264Courtesy of AMERICAN HONDA MOTOR CO., INC.
  3. Disconnect the 12P connector from the power seat adjustment switch
  4. Reinstall the adjustment switch knobs to the switch
  5. Check for continuity between the terminals in each position according to the table
    Fig 2: Switch Position Terminals Continuity Chart
    G05989265Courtesy of AMERICAN HONDA MOTOR CO., INC.
  6. If the continuity is not as specified, replace the switch