LEMON Manuals: Even more car manuals for everyone: 1960-2025
Home >> Acura >> 2011 >> ZDX V6-3.7L >> Repair and Diagnosis >> Relays and Modules >> Relays and Modules - Brakes and Traction Control >> Traction Control Module >> Service and Repair
April 5, 2026: LEMON Manuals is launched! Read the announcement.

Traction Control Module: Service and Repair




VSA Modulator-Control Unit Removal and Installation

NOTICE
Do not spill brake fluid on the vehicle; it may damage the paint. If brake fluid gets on the paint, wash it off immediately with water.

NOTE:

- Be careful not to damage or deform the brake lines during removal and installation.
- After removal, plug the ends of the hoses and the joints to prevent spilling brake fluid.

Removal

1. Turn the ignition switch to LOCK (0), or press the engine start/stop button to select the OFF mode.

2. Remove the air cleaner Service and Repair.

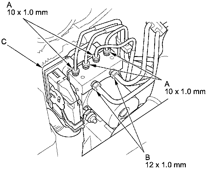
3. Disconnect the 10 mm brake lines (A) and the 12 mm brake lines (B) from the VSA modulator-control unit (C).






4. Disconnect the VSA modulator-control unit 46P connector (A) by pulling up the lever (B); the connector disconnects itself.






5. Remove the VSA modulator-control unit bracket mounting bolts (A), then remove the VSA modulator-control unit (B) with the bracket (C) from the body.






6. Remove the locknuts (A), then remove the VSA modulator-control unit (B) from the bracket (C).





7. Remove the rubber dampers (D) and the grommet (E) from the VSA modulator-control unit.

Installation

1. Install the new rubber dampers (A) and the new grommet (B) to the VSA modulator-control unit (C) (otherwise, unwanted noise and vibration may be transmitted to the vehicle).





2. Install the VSA modulator-control unit on the bracket (D), then install the new locknuts (E).

3. Install the VSA modulator-control unit (A) with the bracket (B) to the body, then install the VSA modulator-control unit bracket mounting bolts (C).






4. Align the connecting surface of the VSA modulator-control unit 46P connector (A) to the VSA modulator-control unit.





5. Pull down the lever (B) of the VSA modulator-control unit 46P connector, then confirm the connector is fully seated.

6. Connect the 10 mm brake lines and the 12 mm brake lines to the VSA modulator-control unit (A).

NOTE: Brake lines are connected to the master cylinder (B), the right-front (C), the left-rear (D), the right-rear (E), and the left-front (F) brake systems.






7. Install the air cleaner Service and Repair.

8. Bleed the brake system Service and Repair.

9. Do the VSA modulator-control unit update Testing and Inspection.

10. Do the VSA sensor neutral position memorization procedure Programming and Relearning.

11. Do the CMBS initial check (DTC 100) 100.