LEMON Manuals: Even more car manuals for everyone: 1960-2025
Home >> Acura >> 2011 >> ZDX V6-3.7L >> Repair and Diagnosis >> Specifications >> Mechanical Specifications >> Engine >> Cylinder Block Assembly >> Connecting Rod, Engine >> Tightening Specifications
April 5, 2026: LEMON Manuals is launched! Read the announcement.

Tightening Specifications




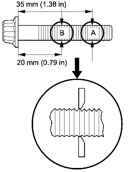
Connecting Rod Bolts

Inspection
Measure bolt diameter at Point A and Point B.





Calculate difference in diameter between Point A and Point B.

Point A-Point B 0-0.1 mm (0-0.004 in)

Install a new bolt if the difference in diameter is out of tolerance.

Tightening Sequence
First step 20 Nm (2.0 kg-m, 15 lb-ft)
Final step Tighten 90°