LEMON Manuals: Even more car manuals for everyone: 1960-2025
Home >> Acura >> 2011 >> ZDX V6-3.7L >> Repair and Diagnosis >> Transmission and Drivetrain >> Automatic Transmission/Transaxle >> Shift Interlock >> Service and Repair >> Shift Lock Release And Release Spring Replacement
April 5, 2026: LEMON Manuals is launched! Read the announcement.

Shift Lock Release And Release Spring Replacement




Shift Lock Release and Release Spring Replacement

1. Remove the shift lever assembly A/T Shift Lever Removal.

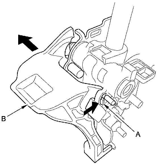
2. Release the lock (A) of the shift lock release (B), then remove the shift lock release.






3. Remove the release spring (A) from the shift lock release (B).





4. Replace the shift lock release or the release spring.

5. Install the shift lock release spring in the shift lock release.

6. Install the shift lock release on the shift lever.

7. Make sure that the release spring end (A) is installed in the shift lock release (B), and the hooked end (C) of the release spring is on the shift lever bracket as shown.





8. Install the shift lever assembly A/T Shift Lever Installation.