LEMON Manuals: Even more car manuals for everyone: 1960-2025
Home >> Acura >> 2012 >> MDX V6-3.7L >> Repair and Diagnosis >> Powertrain Management >> Computers and Control Systems >> Crankshaft Position Sensor >> Service and Repair >> CKP Sensor Replacement
April 5, 2026: LEMON Manuals is launched! Read the announcement.

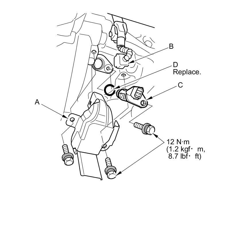
CKP Sensor Replacement




CKP Sensor Replacement

1. Raise the vehicle on a lift.

NOTE: Make sure the vehicle is level, because engine oil will drip out when you remove the sensor.

2. Remove the CKP sensor cover (A).





3. Disconnect the CKP sensor 3P connector (B).

4. Remove the CKP sensor (C).

5. Install the parts in the reverse order of removal with a new O-ring (D).

6. Do the CKP pattern clear/CKP pattern learn procedure.

7. Check the engine oil level, and add more oil if needed.