LEMON Manuals: Even more car manuals for everyone: 1960-2025
Home >> Acura >> 2012 >> MDX V6-3.7L >> Repair and Diagnosis >> Powertrain Management >> Computers and Control Systems >> Information Bus >> Testing and Inspection >> Component Tests and General Diagnostics >> MICU Input Test
April 5, 2026: LEMON Manuals is launched! Read the announcement.

MICU Input Test




MICU Input Test

NOTE: Before testing, troubleshoot the multiplex integrated control unit first, using B-CAN System Diagnosis Test Mode A Troubleshooting - B-CAN System Diagnosis Test Mode A.

1. Turn the ignition switch to LOCK (0).

2. Remove the left kick panel Service and Repair.

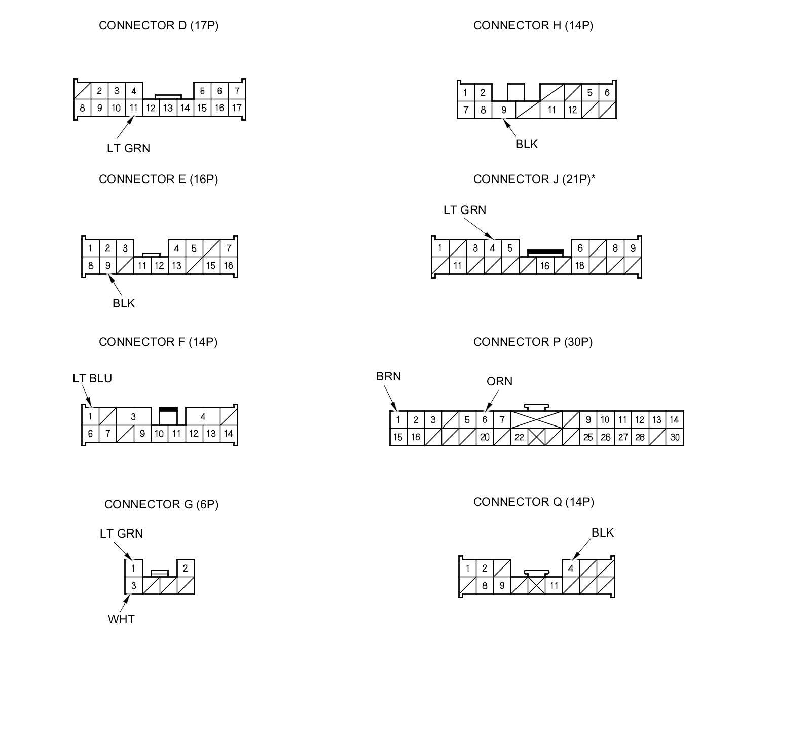
3. Disconnect under-dash fuse/relay box connectors D, E, F, G, H, J, N, P, Q, and X.

NOTE: All connector views are wire side of female terminals.










4. Inspect the connector and socket terminals to be sure they are all making good contact.

- If the terminals are bent, loose, or corroded, repair them as necessary, and recheck the system.
- If the terminals look OK, go to step 5.

5. With the connectors still disconnected, do the following input tests:

- If any test indicates a problem, find and correct the cause, then recheck the system.
- If all the input tests prove OK, go to step 6.









6. Reconnect the connectors, and do the following input tests:

- If any test indicates a problem, find and correct the cause, then recheck the system.
- If all the input tests prove OK, the MICU must be faulty; replace the under-dash fuse/relay box Under-Dash Fuse/Relay Box Removal and Installation.