LEMON Manuals: Even more car manuals for everyone: 1960-2025
Home >> Acura >> 2012 >> MDX V6-3.7L >> Repair and Diagnosis >> Specifications >> Mechanical Specifications >> Engine >> Cylinder Head Assembly >> System Specifications
April 5, 2026: LEMON Manuals is launched! Read the announcement.

System Specifications

















Head





Camshaft





Valve





Valve seat





Valve guide





Rocker arm





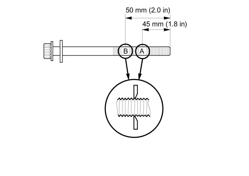
Cylinder Head Bolts

Inspection





Measure the diameter of each cylinder head bolt at point A and point B.
If either diameter is less than 11.3 mm (0.44 in), replace the cylinder head bolt.

Tightening Specifications

FRONT





REAR





Tighten Cylinder Head Bolts in sequence:
1. Torque to, Nm (3.0 kg-m, 22 lb-ft).
2. Tighten all cylinder head bolts in two steps (90 ° per step) using the sequence.
3. If you are using a new cylinder head bolt, tighten the bolt an extra 90 °.

NOTE: Remove the cylinder head bolt if you tightened it beyond the specified angle, and go back tothe beginning of the procedure. Do not loosen it back to the specified angle.

Intake Manifold Fasteners Specifications

Exhaust Manifold Fasteners Specifications

Camshaft Sprocket Bolt Specifications