LEMON Manuals: Even more car manuals for everyone: 1960-2025
Home >> Acura >> 2012 >> MDX >> Repair and Diagnosis (Single Page) >> Body & Frame >> Seats >> Ventilated Seats >> Control Unit Input Test/Replacement
April 5, 2026: LEMON Manuals is launched! Read the announcement.

Control Unit Input Test/Replacement

NOTE: Before testing, check the No. 2(OP1) (40 A) fuse in the main under-hood fuse box, the No. 30 (10 A) fuse in the under-dash fuse/relay box, and the No. 4 (20 A) fuse in the under-dash fuse/relay box.
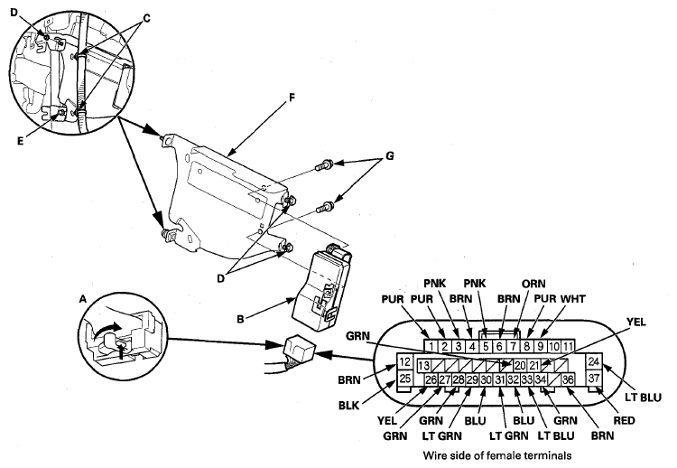
  1. Remove the center console trim (see CENTER CONSOLE REMOVAL/INSTALLATION ).
  2. Disconnect the 37P connector (A) from the seat ventilation control unit (B), then detach the clips (C).
    Fig 1: Exploded View Of Control Unit Input
    G08053843Courtesy of AMERICAN HONDA MOTOR CO., INC.
  3. Loosen the bolts (D).
  4. Remove the nut (E), then pull out the bracket (F).
  5. Remove the bolts (G), then remove the seat ventilation control unit.
  6. Inspect the connector and socket terminals to be sure they are all making good contact.
    • If the terminals are bent, loose, or corroded, repair them as necessary, and recheck the system.
    • If the terminals look OK, go to step 7.
  7. Reconnect the 37P connector to the control unit, and do the following input tests:
    • If any test indicates a problem, find and correct the cause, then recheck the system.
    • If all the input tests prove OK, go to step 8.
    Cavity Wire Test condition Test: Desired result Possible cause if desired result is not obtained
    25 BLK In all ignition switch positions Measure the voltage to ground: There should be less than 0.2 V.
    • Poor ground (G507) or an open in the ground wire
    • An open or high resistance in the wire
    12 BRN Ignition switch ON (II) Measure the voltage to ground: There should be battery voltage.
    • Blown No. 4 (20 A) fuse in the under-dash fuse/relay box
    • Faulty under-dash fuse/relay box
    • An open or high resistance in the wire
    26 YEL Ignition switch ON (II) Measure the voltage to ground: There should be battery voltage.
    • Blown No. 1 (10 A) fuse in the auxiliary under-hood fuse/relay box
    • Faulty auxiliary under-hood fuse/relay box
    • An open or high resistance in the wire
    24 LT BLU Ignition switch ON (II), front passenger's seat ventilation switch HEAT side pressed Measure the voltage to ground: There should be battery voltage.
    • Poor ground (G605) or an open in the ground wire
    • Faulty front passenger's seat heater
    • An open or high resistance in the wire
    37 RED Ignition switch ON (II), driver's seat ventilation switch HEAT side pressed Measure the voltage to ground: There should be battery voltage.
    • Poor ground (G602) or an open in the ground wire
    • Faulty driver's seat heater
    • An open or high resistance in the wire
  8. Disconnect the 37P connector from the control unit, and do the following input tests:
    • If any test indicates a problem, find and correct the cause, then recheck the system.
    • If all the input tests prove OK, the control unit must be faulty; replace it.
    Cavity Wire Test condition Test: Desired result Possible cause if desired result is not obtained
    9 WHT Under all conditions Check for continuity between terminals No. 9 and No. 21: There should be continuity.
    • Faulty driver's seat cushion heater
    • An open or high resistance in the wire
    21 YEL
    20 GRN Under all conditions Check for continuity between terminals No. 20 and No. 36: There should be continuity.
    • Faulty front passenger's seat cushion heater
    • An open or high resistance in the wire
    36 BRN
    33 LT BLU Ignition switch ON (II), front passenger's seat ventilation switch HEAT side pressed Measure the voltage to ground: There should be battery voltage.
    • Blown No. 1 (10 A) fuse in the auxiliary under-hood fuse/relay box
    • Faulty front passenger's seat ventilation switch
    • Faulty auxiliary under-hood fuse/relay box
    • An open or high resistance in the wire
    7 ORN Ignition switch ON (II), front passenger's seat ventilation switch FAN side pressed Measure the voltage to ground: There should be battery voltage.
    • Blown No. 1 (10 A) fuse in the auxiliary under-hood fuse/relay box
    • Faulty front passenger's seat ventilation switch
    • Faulty auxiliary under-hood fuse/relay box
    • An open or high resistance in the wire
    34 GRN Ignition switch ON (II), driver's seat ventilation switch HEAT side pressed Measure the voltage to ground: There should be battery voltage.
    • Blown No. 1 (10 A) fuse in the auxiliary under-hood fuse/relay box
    • Faulty driver's seat ventilation switch
    • Faulty auxiliary under-hood fuse/relay box
    • An open or high resistance in the wire
    8 PUR Ignition switch ON (II), driver's seat ventilation switch FAN side pressed Measure the voltage to ground: There should be battery voltage.
    • Blown No. 1 (10 A) fuse in the auxiliary under-hood fuse/relay box
    • Faulty driver's seat ventilation switch
    • Faulty auxiliary under-hood fuse/relay box
    • An open or high resistance in the wire
    3 PNK Ignition switch ON (II) Attach to ground: The driver's seat heater HIGH indicator should come on.
    • Blown No. 1 (10 A) fuse in the auxiliary under-hood fuse/relay box
    • Faulty driver's seat ventilation switch
    • Faulty auxiliary under-hood fuse/relay box
    • An open or high resistance in the wire
    29 LT GRN Ignition switch ON (II) Attach to ground: The driver's seat heater MIDDLE indicator should come on.
    • Blown No. 1 (10 A) fuse in the auxiliary under-hood fuse/relay box
    • Faulty driver's seat ventilation switch
    • Faulty auxiliary under-hood fuse/relay box
    • An open or high resistance in the wire
    4 BRN Ignition switch ON (II) Attach to ground: The driver's seat heater LOW indicator should come on.
    • Blown No. 1 (10 A) fuse in the auxiliary under-hood fuse/relay box
    • Faulty driver's seat ventilation switch
    • Faulty auxiliary under-hood fuse/relay box
    • An open or high resistance in the wire
    27 GRN Ignition switch ON (II) Attach to ground: The driver's seat fan HIGH indicator should come on.
    • Blown No. 1 (10 A) fuse in the auxiliary under-hood fuse/relay box
    • Faulty driver's seat ventilation switch
    • Faulty auxiliary under-hood fuse/relay box
    • An open or high resistance in the wire
    1 PUR Ignition switch ON (II) Attach to ground: The driver's seat fan MIDDLE indicator should come on.
    • Blown No. 1 (10 A) fuse in the auxiliary under-hood fuse/relay box
    • Faulty driver's seat ventilation switch
    • Faulty auxiliary under-hood fuse/relay box
    • An open or high resistance in the wire
    30 BLU Ignition switch ON (II) Attach to ground: The driver's seat fan LOW indicator should come on.
    • Blown No. 1 (10 A) fuse in the auxiliary under-hood fuse/relay box
    • Faulty driver's seat ventilation switch
    • Faulty auxiliary under-hood fuse/relay box
    • An open or high resistance in the wire
    5 PNK Ignition switch ON (II) Attach to ground: The front passenger's seat heater HIGH indicator should come on.
    • Blown No. 1 (10 A) fuse in the auxiliary under-hood fuse/relay box
    • Faulty front passenger's seat ventilation switch
    • Faulty auxiliary under-hood fuse/relay box
    • An open or high resistance in the wire
    31 LT GRN Ignition switch ON (II) Attach to ground: The front passenger's seat heater MIDDLE indicator should come on.
    • Blown No. 1 (10 A) fuse in the auxiliary under-hood fuse/relay box
    • Faulty front passenger's seat ventilation switch
    • Faulty auxiliary under-hood fuse/relay box
    • An open or high resistance in the wire
    6 BRN Ignition switch ON (II) Attach to ground: The front passenger's seat heater LOW indicator should come on.
    • Blown No. 1 (10 A) fuse in the auxiliary under-hood fuse/relay box
    • Faulty front passenger's seat ventilation switch
    • Faulty auxiliary under-hood fuse/relay box
    • An open or high resistance in the wire
    28 GRN Ignition switch ON (II) Attach to ground: The front passenger's seat fan HIGH indicator should come on.
    • Blown No. 1 (10 A) fuse in the auxiliary under-hood fuse/relay box
    • Faulty front passenger's seat ventilation switch
    • Faulty auxiliary under-hood fuse/relay box
    • An open or high resistance in the wire
    2 PUR Ignition switch ON (II) Attach to ground: The front passenger's seat fan MIDDLE indicator should come on.
    • Blown No. 1 (10 A) fuse in the auxiliary under-hood fuse/relay box
    • Faulty front passenger's seat ventilation switch
    • Faulty auxiliary under-hood fuse/relay box
    • An open or high resistance in the wire
    32 BLU Ignition switch ON (II) Attach to ground: The front passenger's seat fan LOW indicator should come on.
    • Blown No. 1 (10 A) fuse in the auxiliary under-hood fuse/relay box
    • Faulty front passenger's seat ventilation switch
    • Faulty auxiliary under-hood fuse/relay box
    • An open or high resistance in the wire