LEMON Manuals: Even more car manuals for everyone: 1960-2025
Home >> Acura >> 2012 >> MDX >> Repair and Diagnosis >> Electrical >> Charging Systems >> Charging System >> Alternator Overhaul >> Exploded View
April 5, 2026: LEMON Manuals is launched! Read the announcement.

Exploded View

Fig 1: Exploded View Of Alternator
G08051996Courtesy of AMERICAN HONDA MOTOR CO., INC.

Special Tools Required 

NOTE: Refer to the EXPLODED VIEW  if needed during this procedure.
  1. Test the alternator and regulator before you remove them (see CHARGING SYSTEM INDICATOR CIRCUIT TROUBLESHOOTING  ).
  2. Remove the alternator (see ALTERNATOR REMOVAL AND INSTALLATION  ).

    Alternator Disassembly 

  3. If the front bearing needs replacing, remove the pulley locknut with a 10 mm wrench (A) and a 22 mm wrench (B). If necessary, use an impact wrench.
    Fig 2: Removing Pulley Locknut With 10 mm Wrench And 22 mm Wrench
    G08051997Courtesy of AMERICAN HONDA MOTOR CO., INC.
  4. Remove the three flange nuts.
    Fig 3: Identifying Flange Nuts
    G08051998Courtesy of AMERICAN HONDA MOTOR CO., INC.
  5. Remove the end cover (A) and the terminal insulator (B).
    Fig 4: Locating End Cover And Terminal Insulator
    G08051999Courtesy of AMERICAN HONDA MOTOR CO., INC.
  6. Remove the brush holder assembly (A).
    Fig 5: Locating Brush Holder Assembly
    G08052000Courtesy of AMERICAN HONDA MOTOR CO., INC.
  7. Remove the four through bolts, then remove the rear housing assembly (A) and the washer (B).
    Fig 6: Locating Through Bolts, Rear Housing Assembly And Washer
    G08052001Courtesy of AMERICAN HONDA MOTOR CO., INC.
  8. If you are not replacing the front bearing, go to step  13. Remove the rotor from the drive-end housing.
    Fig 7: Identifying Rotor And Drive-End Housing
    G08052002Courtesy of AMERICAN HONDA MOTOR CO., INC.
  9. Inspect the rotor shaft for scoring, and inspect the bearing journal surface in the drive-end housing for seizure marks.
    • If the rotor is damaged, replace the rotor assembly.
    • If the rotor is OK, go to step 10.
  10. Remove the front bearing retainer.
    Fig 8: Identifying Front Bearing Retainer
    G08052003Courtesy of AMERICAN HONDA MOTOR CO., INC.
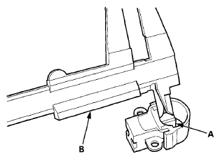
  11. Drive out the front bearing with a brass drift and a hammer.
    Fig 9: Driving Out Front Bearing With Brass Drift And Hammer
    G08052004Courtesy of AMERICAN HONDA MOTOR CO., INC.
  12. Install a new front bearing in the drive-end housing with a hammer, the driver handle, 15 x 135L, and bearing driver attachment, 42 x 47 mm.
    Fig 10: Installing Front Bearing In Drive-End Housing
    G08052005Courtesy of AMERICAN HONDA MOTOR CO., INC.

    Alternator Brush Inspection 

  13. Measure the length of both brushes (A) with a vernier caliper (B).
    • If either brush is shorter than the service limit, replace the brush holder assembly.
    • If the brush length is OK, go to step 14.

    Alternator Brush Length 

    Standard (New): 10.5 mm (0.413 in) 

    Service Limit: 1.5 mm (0.059 in) 

    Fig 11: Measuring Alternator Brush Length
    G08052006Courtesy of AMERICAN HONDA MOTOR CO., INC.

    Rotor Slip Ring Test 

  14. Check for continuity between the slip rings (A).
    • If there is continuity, go to step 15.
    • If there is no continuity, replace the rotor assembly.
      Fig 12: Locating Slip Ring, Rotor And Rotor Shaft
      G08052007Courtesy of AMERICAN HONDA MOTOR CO., INC.
  15. Check for continuity between each slip ring and the rotor (B) and the rotor shaft (C).
    • If there is no continuity, go to step 16.
    • If there is continuity, replace the rotor assembly.

    Alternator Reassembly 

  16. If you removed the pulley, put the rotor in the drive-end housing, then torque its locknut to 110 N.m (11.2 kgf.m, 81.0 lbf.ft).
  17. Remove any grease or any oil from the slip rings.
  18. Put the rear housing assembly and the drive-end housing/rotor assembly together, tighten the four through bolts.
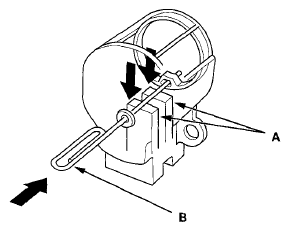
  19. Push the brushes (A) in, then insert a pin or drill bit (B) (about 1.6 mm (1/16 in) diameter) to hold them there.
    Fig 13: Inserting Pin To Hold Brushes
    G08052008Courtesy of AMERICAN HONDA MOTOR CO., INC.
  20. Install the brush holder assembly, and pull out the pin or drill bit.
    Fig 14: Pulling Out Pin
    G08052009Courtesy of AMERICAN HONDA MOTOR CO., INC.
  21. Install the end cover.
  22. After assembling the alternator, turn the pulley by hand to make sure the rotor turns smoothly and without noise.
  23. Install the alternator (see INSTALLATION  ).