LEMON Manuals: Even more car manuals for everyone: 1960-2025
Home >> Acura >> 2012 >> MDX >> Repair and Diagnosis >> Engine Mechanical >> Mechanical >> Engine Block >> Piston Ring Replacement
April 5, 2026: LEMON Manuals is launched! Read the announcement.

Piston Ring Replacement

  1. Remove the pistons from the engine block (see CRANKSHAFT AND PISTON REMOVAL  ).
  2. Using a ring expander (A), remove the aid piston rings (B).
    Fig 1: Removing Old Piston Rings Using Ring Expander
    G08052306Courtesy of AMERICAN HONDA MOTOR CO., INC.
  3. Clean all the ring grooves thoroughly with a squared-off broken ring, or a ring groove cleaner with a blade to fit the piston grooves. File down the blade, if necessary. The top ring and second ring grooves are 1.2 mm (0.05 in) wide, and the oil ring groove is 2.8 mm (0.11 in) wide. Do not use a wire brush to clean the ring grooves, or cut the ring grooves deeper with the cleaning tool.
    NOTE: If the piston is to be separated from the connecting rod, do not install new rings yet.
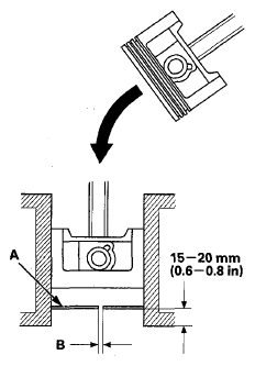
  4. Using a piston, push a new ring (A) into the cylinder bore 15-20 mm (0.6-0.8 in) from the bottom.
    Fig 2: Pushing Ring Into Cylinder Bore Using Piston
    G08052307Courtesy of AMERICAN HONDA MOTOR CO., INC.
  5. Measure the piston ring end-gap (B) with a feeler gauge:
    • If the gap is too small, check to see if you have the proper rings for your engine.
    • If the gap is too large, recheck the cylinder bore diameter against the wear limits (see step  5 under Block and Piston Inspection  ).

    Piston Ring End-Gap 

    Top Ring: 

    Standard (New): 0.30-0.40 mm (0.012-0.015 in) 

    Service Limit: 0.60 mm (0.023 in) 

    Second Ring: 

    Standard (New): 0.40-0.55 mm (0.016-0.021 in) 

    Service Limit: 0.70 mm (0.027 in) 

    Oil Ring: 

    Standard (New): 0.20-0.35 mm (0.008-0.013 in) 

    Service Limit: 0.80 mm (0.031 in) 

  6. Install the rings as shown. The top ring (A) has a 1E mark and the second ring (B) has a 2E mark. The manufacturing marks (C) must face upward.
    Fig 3: Installing Rings
    G08052308Courtesy of AMERICAN HONDA MOTOR CO., INC.
  7. After installing a new set of rings, measure the ring-to-groove clearance.

    Top Ring Clearance 

    Standard (New): 0.055-0.085 mm (0.003-0.003 in) 

    Service Limit: 0.15 mm (0.005 in) 

    Second Ring Clearance 

    Standard (New): 0.030-0.060 mm (0.002-0.002 in) 

    Service Limit: 0.13 mm (0.005 in) 

    Fig 4: Measuring Top Ring Clearance
    G08052309Courtesy of AMERICAN HONDA MOTOR CO., INC.
  8. Rotate the rings in their grooves to make sure they do not bind.
  9. Position the ring end gaps as shown:
    Fig 5: Positioning Ring End Gaps
    G08052310Courtesy of AMERICAN HONDA MOTOR CO., INC.