LEMON Manuals: Even more car manuals for everyone: 1960-2025
Home >> Acura >> 2012 >> MDX >> Repair and Diagnosis >> Suspension >> Wheels & Tire System >> TPMS (Tire Pressure Monitoring System) >> TPMS Control Unit Replacement
April 5, 2026: LEMON Manuals is launched! Read the announcement.

TPMS Control Unit Replacement

NOTE: Make sure the TPMS control unit mounting bracket is not bent or twisted as this may affect its communication with the initiators and the tire pressure sensors.
  1. Turn the ignition switch to LOCK (0).
  2. Remove the driver's dashboard undercover (see DRIVER'S DASHBOARD LOWER COVER REMOVAL/INSTALLATION ).
  3. Disconnect the TPMS control unit 20P connector (A).
    NOTE: The TPMS control unit is located on the brake pedal bracket.
    Fig 1: TPMS Control Unit 20P Connector, Flange Bolt And Bracket With Torque Specifications
    G08052996Courtesy of AMERICAN HONDA MOTOR CO., INC.
  4. Remove the flange bolt (B) from the brake pedal bracket.
  5. Remove the TPMS control unit (C) with the bracket (D).
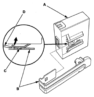
  6. Remove the TPMS control unit (A) from the bracket (B).
    NOTE: While separating the TPMS control unit from the bracket, release the hook (C) on the TPMS control unit using a flat-tipped screwdriver (D), and push it up to remove the bracket.
    Fig 2: Releasing Hook On TPMS Control Unit
    G08052997Courtesy of AMERICAN HONDA MOTOR CO., INC.
  7. Install the TPMS control unit in the reverse order of removal.
    NOTE: Make sure the TPMS control unit is properly installed. You will hear a click when the TPMS control unit is securely mounted on the bracket.
  8. Connect the HDS, and memorize the tire pressure sensor IDs (see MEMORIZING THE TIRE PRESSURE SENSOR ID  ). Do not memorize the IDs automatically.